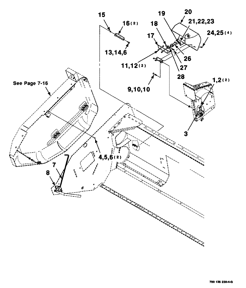
Запчасти Case IH 525 (07-022) - SHEILDS AND MOUNTING ASSEMBLIES, RIGHT (12 FOOT) (58) - ATTACHMENTS/HEADERS

Схема запчастей Case IH 525 - (07-022) - SHEILDS AND MOUNTING ASSEMBLIES, RIGHT (12 FOOT) (58) - ATTACHMENTS/HEADERS
19
6
7
10
4
9
12
15
24
14
8
20
23
11
3
22
2
18
6
25
27
21
26
10
13
1
16
28
5
17
FIT
1:1
100%

Артикул

Название

Примечание

Количество

1

121-226

SERRATED BOLT,Hex, 3/8" - 16 x 1"

2шт.

2

232-5316

FLANGE NUT,Flg, 3/8"-16

hex flange top lock, 3/8-16 GR/G

2шт.

3

700114779

BRACKET

PIVOT

1шт.

4

433-512

CARRIAGE BOLT,Sq Nk, 5/16" - 18 x 3/4", Gr 5

2шт.

5

496-21034

WASHER,11/32" x 11/16" x 0.89", HDN

2шт.

6

231-5145

SERRATED NUT,Flg, USR, 5/16"-18

3шт.

7

700134880

ROD

HANGER, left

1шт.

8

432-812

COTTER PIN,3/4" OAL x 1/8" W

1шт.

9

413-840

BOLT,Hex, 1/2" - 13 x 2-1/2", Gr 5

SCREW hex cap, 1/2-13 x 2-1/2

1шт.

10

231-5148

FLANGE NUT,Flg, USR, 1/2"-13

2шт.

11

121-115

SERRATED BOLT,Hex, 5/16" - 18 x 3/4"

2шт.

12

231-5145

SERRATED NUT,Flg, USR, 5/16"-18

2шт.

13

163-41

SCREW,Sl Hex Wshr Hd, 5/16" - 18 x 1 1/4"

hex washer head machine, 5/16-18 x 1-1/4

1шт.

14

495-61034

WASHER,0.34" ID x 0.88" OD x 0.06" Thk

wide plain, 5/16

1шт.

15

6124259

BUSHING

1шт.

16

700110705

SUPPORT

SHIELD

2шт.

17

700136347

SUPPORT

SHIELD 12'

1шт.

18

432-68

COTTER PIN,3/32" x 1/2"

1шт.

19

8722910

BRACKET

1шт.

20

700136329

SHIELD

right 12'

1шт.

21

340-1108

SCREW,Cross Pan Hd, #10-24 x 1/2"

cross recess pan head machine, #10-24 x 1/2 GR60M

1шт.

22

492-11010

LOCK WASHER,#10

1шт.

23

225-14110

NUT,#10-24

1шт.

24

121-115

SERRATED BOLT,Hex, 5/16" - 18 x 3/4"

4шт.

25

232-5315

FLANGE NUT,Flg, 5/16"-18

hex flange top lock, 5/16-18 GR/G

4шт.

26

494307C1

LATCH

rubber

1шт.

27

141-13

CLEVIS PIN,1/4" x 1.594"

clevis, 1/4 x 1-1/2

1шт.

28

776674

SUPPORT

BRACKET-ANCHOR

1шт.

Выбрано товаров: 28