Запчасти Case IH 525 (07-030) - WINDROW FORMING SHIELD ASSEMBLIES (58) - ATTACHMENTS/HEADERS

Схема запчастей Case IH 525 - (07-030) - WINDROW FORMING SHIELD ASSEMBLIES (58) - ATTACHMENTS/HEADERS
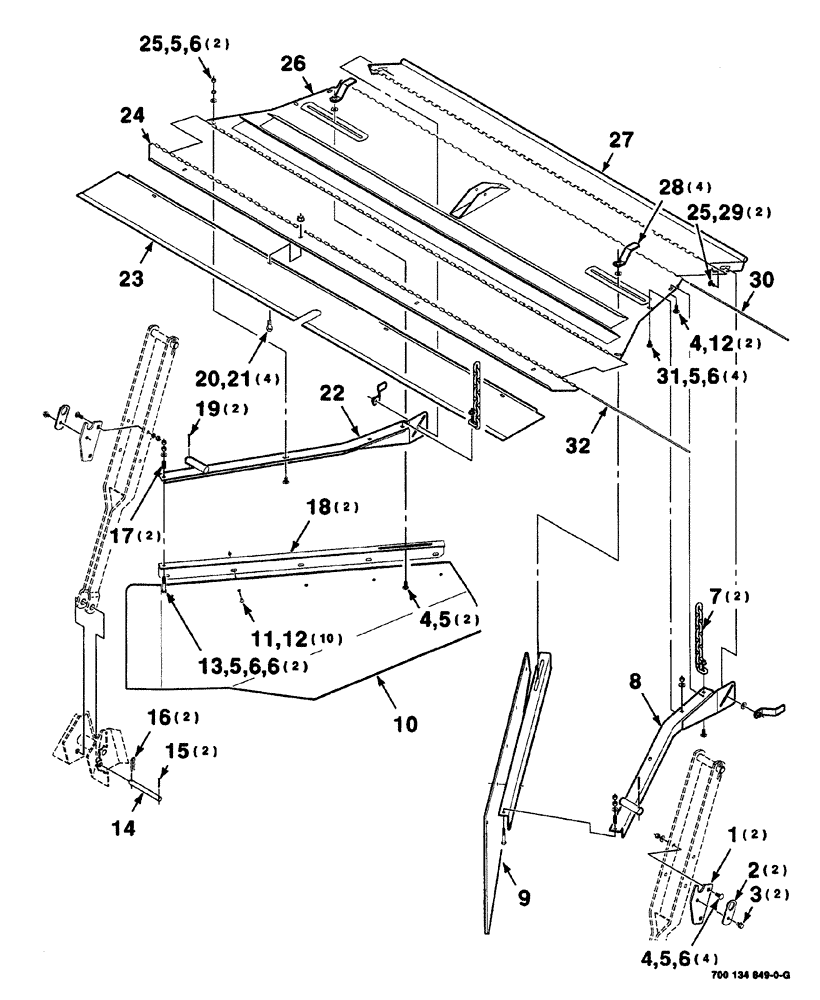
13
6
5
5
1
28
20
25
7
19
8
16
5
6
4
11
12
18
26
14
17
5
21
12
2
25
23
5
10
4
29
15
6
30
6
22
27
9
3
4
24
32
31
6
FIT
1:1
100%

Артикул

Название

Примечание

Количество

1

700110905

PLATE

HANGER

2шт.

2

700110223

STRAP

STRAP

2шт.

3

7883366

SCREW,Hex Washer, 3/8" - 16 x 1/2"

hex washer head machine, 3/8-16 x 1/2

2шт.

4

434-616

CARRIAGE BOLT,Sht Sq Nk, 3/8" - 16 x 1", Gr 5

8шт.

5

496-11041

WASHER,13/32" x 13/16" x .065", HDN

hardened plain, 3/8

14шт.

6

425-106

NUT,3/8"-16, Cl 5

14шт.

7

1662543

CHAIN (AG)

2шт.

8

700110761

ANGLE

mounting, left

1шт.

9

700715891

SHIELD

forming, left

1шт.

10

700715890

SHIELD

forming, right

1шт.

11

440-13816

SCREW,Cross Pan Hd, 3/8"-16 x 1"

cross recess pan head machine, 3/8-16 x 1 GR60M

10шт.

12

232-5316

FLANGE NUT,Flg, 3/8"-16

hex flange top lock, 3/8-16 GR/G

12шт.

13

413-636

BOLT,Hex, 3/8" - 16 x 2-1/4", Gr 5

2шт.

14

700111961

PIN

1шт.

15

432-1016

COTTER PIN,5/32" x 1"

5/32" x 1"

2шт.

16

S120261

PIN

wire hair cotter, .148

2шт.

17

58644

SPRING

compression

2шт.

18

700134886

MOUNTING PARTS

SHIELD, forming

2шт.

19

432-1228

COTTER PIN,3/16" x 1 3/4"

2шт.

20

1270468C1

SELF-TAP SCREW,Cross Pan Hd, 5/16" - 18 x 1/2"

cross recess pan head machine, 5/16 x 1/2

4шт.

21

231-5145

SERRATED NUT,Flg, USR, 5/16"-18

4шт.

22

700110762

ANGLE

mounting, right

1шт.

23

700134887

COVER

SHIELDS forming

1шт.

24

700115778

HINGE

1шт.

25

434-612

CARRIAGE BOLT,Sht Sq Nk, 3/8" - 16 x 3/4", Gr 5

round head short square neck, 3/8-16 x 3/4

4шт.

26

700121181

PANEL

DEFLECTOR

1шт.

27

700111945

DEFLECTOR

rear

1шт.

28

6232532

NUT

NUT

4шт.

29

496-21047

WASHER

hardened plain, 7/16

2шт.

30

6177794

PIN

HINGE

1шт.

31

433-612

CARRIAGE BOLT,Sq Nk, 3/8" - 16 x 3/4", Gr 5

4шт.

32

700115779

PIN

HINGE

1шт.

Выбрано товаров: 32