Качественные детали и логистика
Оригинальные и аналоговые запчасти с доставкой по России, Казахстану и Беларуси
©2022 PartSell ООО "Система" ИНН 2463123282 ОГРН 1212400004838
Центральный офис: г. Красноярск, Академика Киренского, д.87, пом.4
Телефон: 8 (800) 777-65-74 Email: zakaz@partsell.ru
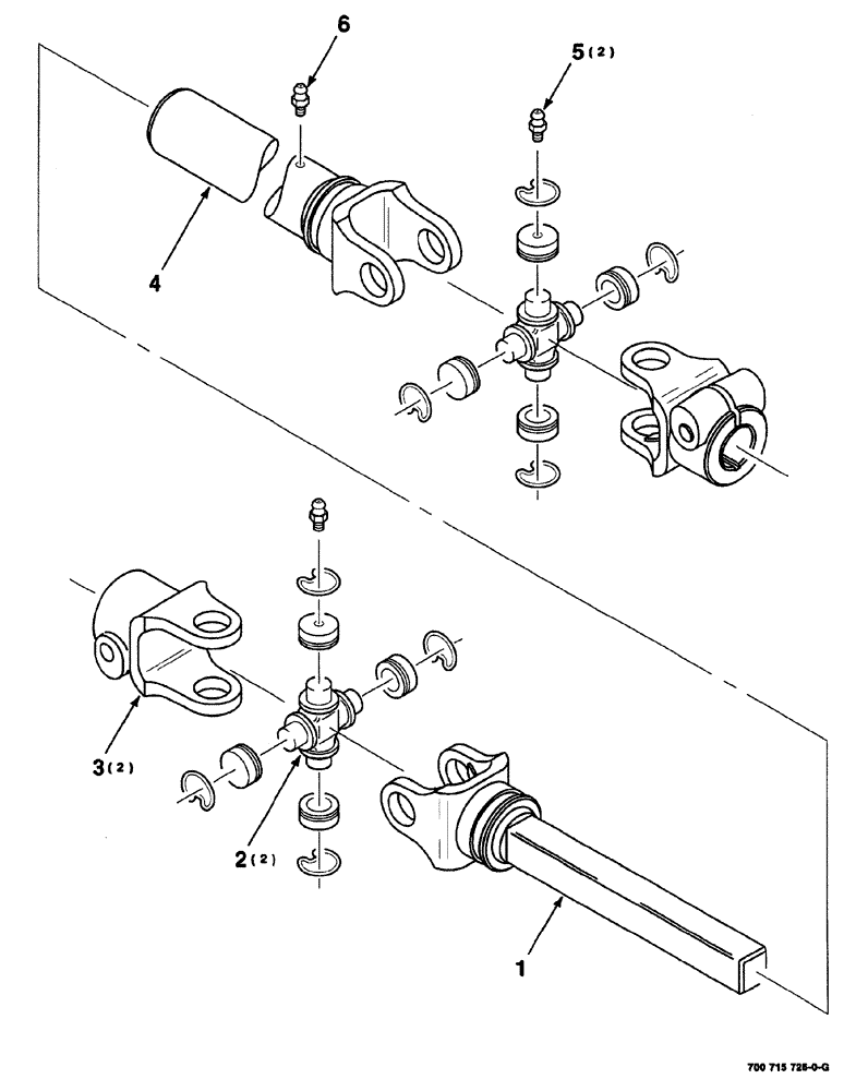
(02-042) - U-JOINT ASSEMBLY (LOWER-14 FOOT)
№
Артикул
Название
Примечание
Количество
1
700716409
LINKAGE YOKE
AND SHAFT
1шт.
2
700711843
FLEXIBLE JOINT
KIT cross and bearing (Includes: Ref. 5)
2шт.
3
757716
CLAMP
YOKE
4
700716418
slip
5
86636814
LUBE NIPPLE,1/4"-28 x .52" lg
Part of KIT, part number 700711843
6
219-425
LUBE NIPPLE,1/4" - 28
ZERK
Выбрано товаров: 0