Запчасти Case IH 525 (07-026) - SHIELDS AND MOUNTING ASSEMBLIES, RIGHT (14 FOOT) (58) - ATTACHMENTS/HEADERS

Схема запчастей Case IH 525 - (07-026) - SHIELDS AND MOUNTING ASSEMBLIES, RIGHT (14 FOOT) (58) - ATTACHMENTS/HEADERS
5
10
22
10
4
20
21
15
14
12
2
17
19
7
23
11
25
6
14
8
9
18
6
13
16
3
6
24
26
1
FIT
1:1
100%

Артикул

Название

Примечание

Количество

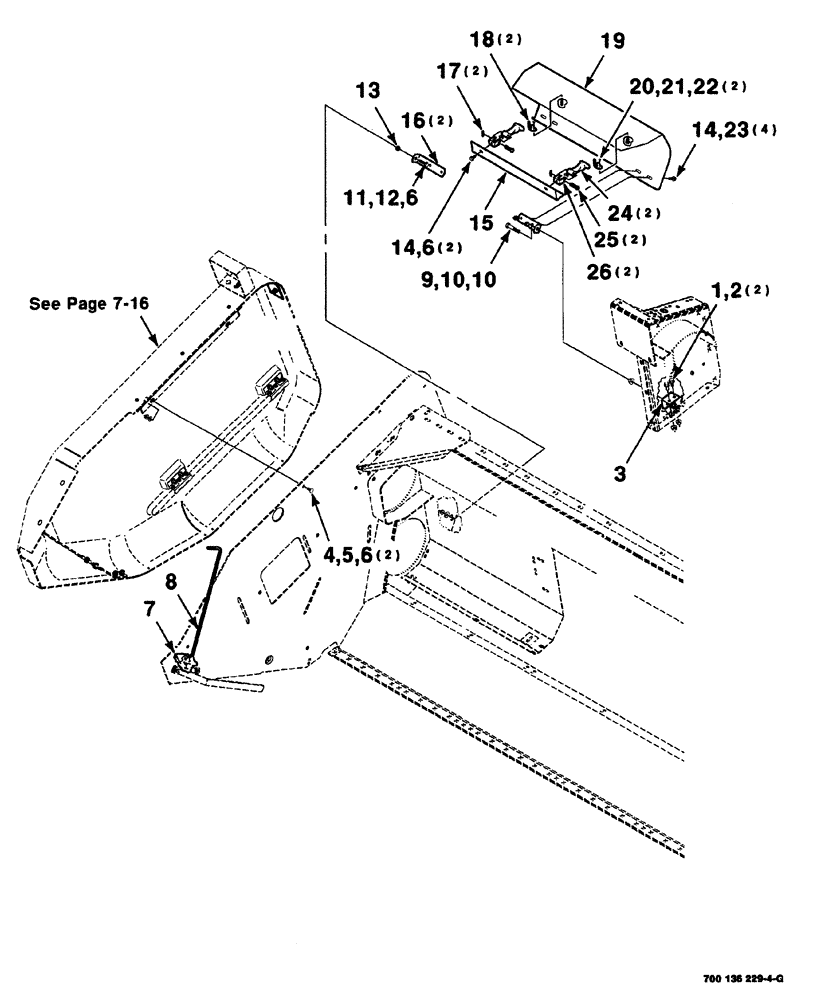
1

121-226

SERRATED BOLT,Hex, 3/8" - 16 x 1"

2шт.

2

232-5316

FLANGE NUT,Flg, 3/8"-16

hex flange top lock, 3/8-16 GR/G

2шт.

3

700114779

BRACKET

PIVOT

1шт.

4

433-512

CARRIAGE BOLT,Sq Nk, 5/16" - 18 x 3/4", Gr 5

2шт.

5

496-21034

WASHER,11/32" x 11/16" x 0.89", HDN

2шт.

6

231-5145

SERRATED NUT,Flg, USR, 5/16"-18

5шт.

7

432-812

COTTER PIN,3/4" OAL x 1/8" W

1шт.

8

700134880

ROD

HANGER, left

1шт.

9

413-840

BOLT,Hex, 1/2" - 13 x 2-1/2", Gr 5

SCREW hex cap, 1/2-13 x 2-1/2

1шт.

10

231-5148

FLANGE NUT,Flg, USR, 1/2"-13

2шт.

11

163-41

SCREW,Sl Hex Wshr Hd, 5/16" - 18 x 1 1/4"

hex washer head machine, 5/16-18 x 1-1/4

1шт.

12

495-61034

WASHER,0.34" ID x 0.88" OD x 0.06" Thk

wide plain, 5/16

1шт.

13

6124259

BUSHING

1шт.

14

121-115

SERRATED BOLT,Hex, 5/16" - 18 x 3/4"

6шт.

15

700134828

SUPPORT

SHIELD 14'

1шт.

16

700110705

SUPPORT

SHIELD

2шт.

17

432-68

COTTER PIN,3/32" x 1/2"

2шт.

18

8722910

BRACKET

2шт.

19

700134827

SHIELD

right 14'

1шт.

20

340-1108

SCREW,Cross Pan Hd, #10-24 x 1/2"

cross recess pan head machine, #10-24 x 1/2 GR60M

2шт.

21

492-11010

LOCK WASHER,#10

2шт.

22

225-14110

NUT,#10-24

2шт.

23

232-5315

FLANGE NUT,Flg, 5/16"-18

hex flange top lock, 5/16-18 GR/G

4шт.

24

494307C1

LATCH

rubber

2шт.

25

141-13

CLEVIS PIN,1/4" x 1.594"

clevis, 1/4 x 1-1/2

2шт.

26

776674

SUPPORT

BRACKET-ANCHOR

2шт.

Выбрано товаров: 26