Запчасти Case IH 525 (09-004) - ADJUSTABLE STUB GUARD KIT (2 FOOT) (88) - ACCESSORIES

Схема запчастей Case IH 525 - (09-004) - ADJUSTABLE STUB GUARD KIT (2 FOOT) (88) - ACCESSORIES
6
2
1
7
4
5
3
FIT
1:1
100%

Артикул

Название

Примечание

Количество

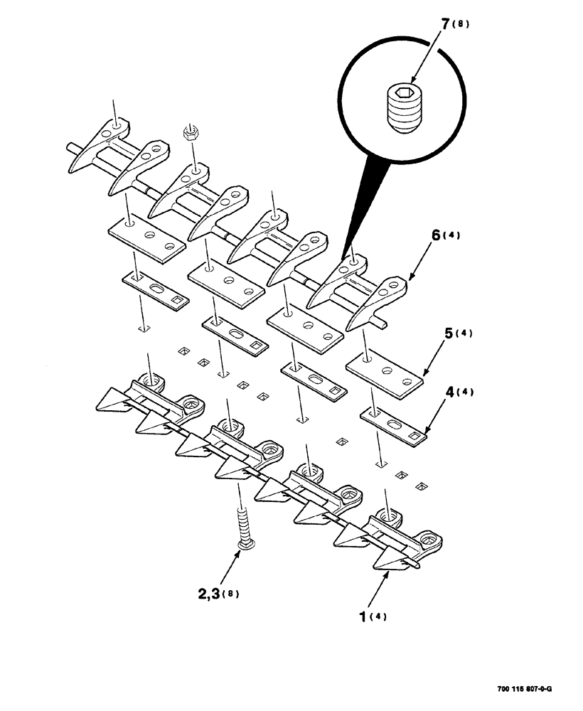
700115807

KIT

stub guard complete-2 foot

1шт.

1

49312

GUARD

STUB, double (packaged 25 per box)

4шт.

2

433-736

CARRIAGE BOLT,Sq Nk, 7/16" - 14 x 2 1/4", Gr 5

BOLT round head square neck, 7/16-14 x 2-1/4

8шт.

3

425-107

NUT,7/16"-14, G5

8шт.

4

700111956

PLATE

4шт.

5

700106256

PLATE

upper

4шт.

6

700106782

FINGER

GUARD-double, stub, top adjust. (Includes: Ref. 7-packaged 25 per box)

4шт.

7

700703319

SET SCREW,1/2" - 13 x 1/2"

oval point socket set, (with patch lock), 1/2-13 x 1/2

8шт.

Part of Ref. 6, part number 700106782

1шт.

Выбрано товаров: 9