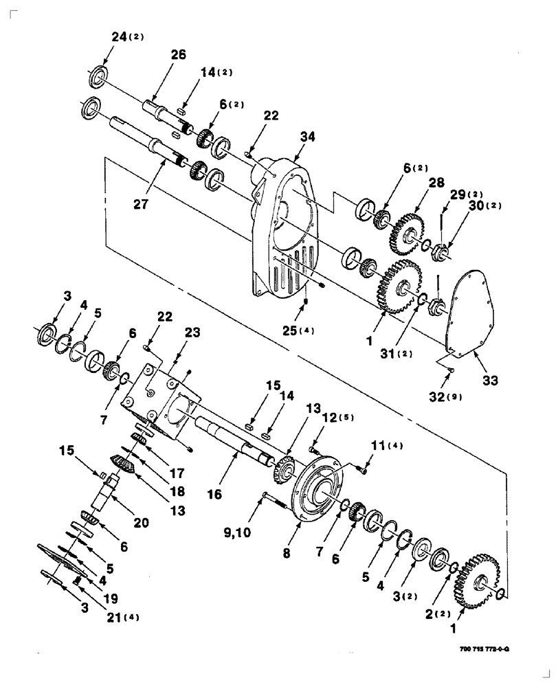
Запчасти Case IH 625 (2-12) - GEARBOX ASSEMBLY, 700715772 GEARBOX ASSEMBLY COMPLETE (58) - ATTACHMENTS/HEADERS

Схема запчастей Case IH 625 - (2-12) - GEARBOX ASSEMBLY, 700715772 GEARBOX ASSEMBLY COMPLETE (58) - ATTACHMENTS/HEADERS
14
3
4
21
3
16
13
10
6
22
28
5
34
29
23
6
15
3
22
4
17
5
30
6
12
6
18
1
24
26
13
3
27
4
19
6
7
11
15
5
1
32
3
14
7
9
8
31
2
20
FIT
1:1
100%

Артикул

Название

Примечание

Количество

700715772

GEARBOX ASSY

GEARBOX ASSEMBLY COMPLETE

1шт.

1

700717083

GEAR

2шт.

2

700717085

RING

- retaining

2шт.

3

700717078

SEAL

- oil

4шт.

4

700712375

SNAP RING

RING - retaining

3шт.

5

700712378

SHIM

3шт.

6

700712361

BEARING,35mm ID x 72mm OD x 24.25mm W

CONE - bearing

1шт.

7

700717091

SHIM

2шт.

8

700717086

COVER

1шт.

9

7772601

BOLT

M10 X 1.50 X 80 C C8.8

1шт.

10

7704810

NUT

HEX JAM NUT M10 X 1.50

1шт.

11

700717084

BOLT

M12 X 1.75 X 25 C C8.8

1шт.

12

700717076

BOLT

M10 X 1.50 X 25 C C8.8

5шт.

13

700717079

WHEEL

CROWN WHEEL

2шт.

14

700717071

KEY

- parallel

3шт.

15

700717093

KEY

- parallel

2шт.

16

700717077

SHAFT

1шт.

17

700717089

BEARING

CONE - bearing

7шт.

18

700717092

SHIM

1шт.

19

700717081

COVER

1шт.

20

700717080

SHAFT

1шт.

21

614-12025

BOLT,Hex, M12 x 1.75 x 25mm, Cl 8.8, Full Thd

4шт.

22

700712886

BREATHER

2шт.

23

700712200

PLUG

1шт.

24

700717072

SEAL

- double lip

2шт.

25

700712384

PLUG

4шт.

26

700717073

SHAFT

1шт.

27

700717075

SHAFT

1шт.

28

700717070

GEAR

1шт.

29

432-1036

COTTER PIN,5/32" x 2 1/4"

PIN, SPLIT (COTTER), 5/32" x 2 1/4"

2шт.

30

700712873

NUT

2шт.

31

700713257

SHIM

2шт.

32

700717068

BOLT

M8 X 1.25 X 18 C C8.8

9шт.

33

700717069

COVER

1шт.

34

700719974

HOUSING

1шт.

Выбрано товаров: 0