Запчасти Case IH 625 (7-36) - WINDROW FORMING SHIELD ASSEMBLIES (58) - ATTACHMENTS/HEADERS

Схема запчастей Case IH 625 - (7-36) - WINDROW FORMING SHIELD ASSEMBLIES (58) - ATTACHMENTS/HEADERS
FIT
1:1
100%

Артикул

Название

Примечание

Количество

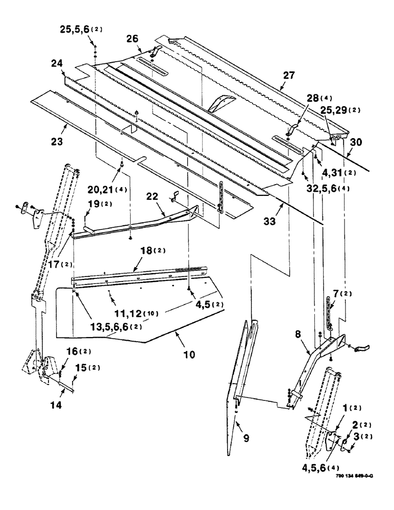
1

700110905

PLATE

- hanger

2шт.

2

700110223

STRAP

RETAINER STRAP

2шт.

3

7883366

SCREW,Hex Washer, 3/8" - 16 x 1/2"

3/8-16 X 1/2 HWHMS

2шт.

4

434-616

CARRIAGE BOLT,Sht Sq Nk, 3/8" - 16 x 1", Gr 5

3/8-16 X 1 RHSNB

8шт.

5

496-11041

WASHER,13/32" x 13/16" x .065", HDN

3/8 HARDENED PLAIN WASHER

14шт.

6

425-106

NUT,3/8"-16, Cl 5

14шт.

7

1662543

CHAIN (AG)

CHAIN

2шт.

8

700110761

ANGLE

- mounting, left

1шт.

9

700715891

SHIELD

- forming, left

1шт.

10

700715890

SHIELD

- forming, right

1шт.

11

440-13816

SCREW,Cross Pan Hd, 3/8"-16 x 1"

3/8-16 X 1 CRPHMS GR60M

10шт.

12

231-5146

FLANGE NUT,3/8"-16

10шт.

13

413-636

BOLT,Hex, 3/8" - 16 x 2-1/4", Gr 5

2шт.

14

700111961

PIN

1шт.

15

432-1016

COTTER PIN,5/32" x 1"

5/32" x 1"

2шт.

16

S120261

PIN

.148 WIRE HAIR PIN COTTER

2шт.

17

58644

SPRING

- compression

2шт.

18

700134886

MOUNTING PARTS

MOUNTING - shield, forming

2шт.

19

432-1228

COTTER PIN,3/16" x 1 3/4"

3/16" x 1 3/4"

2шт.

20

1270468C1

SELF-TAP SCREW,Cross Pan Hd, 5/16" - 18 x 1/2"

5/16 X 1/2 CRPHMS

4шт.

21

231-5145

SERRATED NUT,Flg, USR, 5/16"-18

NUT, Flg, USR, 5/16"-18

4шт.

22

700110762

ANGLE

- mounting, right

1шт.

23

700134887

COVER

- forming shields

1шт.

24

700115778

HINGE

1шт.

25

434-612

CARRIAGE BOLT,Sht Sq Nk, 3/8" - 16 x 3/4", Gr 5

3/8-16 X 3/4 RHSSNB

4шт.

26

700121181

PANEL

- deflector

1шт.

27

700111945

DEFLECTOR

- rear

1шт.

28

6232532

NUT

- nut

4шт.

29

496-21047

WASHER

7/16 HARDENED PLAIN WASHER

2шт.

30

6177794

PIN

- hinge

1шт.

31

232-5316

FLANGE NUT,Flg, 3/8"-16

3/8-16 HFTLN GR/G

2шт.

32

111-360

CARRIAGE BOLT,Short NK, 3/8"-16 x 3/4", G5

BOLT, CARRIAGE, Short NK, 3/8"-16 x 3/4", G5

4шт.

33

700115779

PIN

- hinge

1шт.

Выбрано товаров: 33