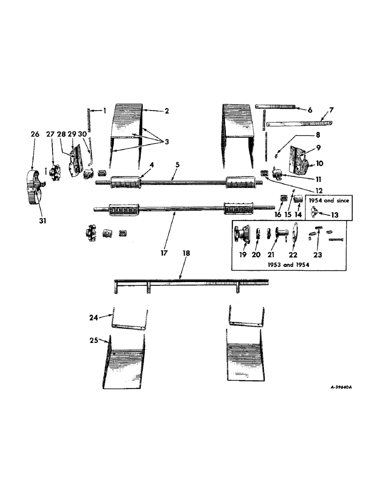
Запчасти Case IH 2-PR (050) - TRASH ROLLS (60) - PRODUCT FEEDING

Схема запчастей Case IH 2-PR - (050) - TRASH ROLLS (60) - PRODUCT FEEDING
21
20
27
10
5
7
2
1
29
16
31
9
25
13
28
26
24
11
17
4
18
8
3
30
6
12
14
15
19
23
22
FIT
1:1
100%

Артикул

Название

Примечание

Количество

1

7

SPRING

adjusting, trash roll (YR. 53-)

2шт.

2

U17128

EXTENSION, first elevator cover, upper (YR. 53-)

2шт.

3

U18009

EXTENSION, first elevator cover, upper (Riveted assembly) (YR. 53-)

2шт.

14986R1

BOLT, carriage, 5/16-18NC x 1/2"

7шт.

14994R1

CARRIAGE BOLT,Sq Nk, 5/16" - 18 x 3/4", Gr 2

BOLT, CARRIAGE, Short NK, 5/16"-18 x 3/4", G2

6шт.

9635082

NUT,5/16" - 18, Gr 5

hex., 5/16-18NC

13шт.

119009

RIVET, truss-hd., 3/16 x 5/16"

12шт.

103320

LOCK WASHER,5/16"

WASHER, LOCK, 5/16"

13шт.

4

U1231

ROLL, trash (YR. 53-)

4шт.

576482R1

LOCK PIN,5/16" x 2", Slotted

8шт.

5

UA17577

SHAFT, trash roll, upper (YR. 53-)

1шт.

6

U17644

ANGLE, stiffening, trash roll support plate, upper (YR. 53-)

1шт.

7

U18179

ANGLE, stiffening, trash roll support plate, lower (YR. 53-)

1шт.

8

219-36

LUBE NIPPLE,45 Degree Elbow, 1/8" - 27 NPTF

FITTING, lubrication, straight, 1/8" (Used in upper right bearing box) (YR. 53-)

1шт.

8

219-31

LUBE NIPPLE,30 Degree Elbow, 1/8" - 27 NPTF

lubrication, 30 degree elbow, 1/8" (Used in upper left bearing box) (YR. 53-)

1шт.

9

U10648

PIN, pivot, trash roll shifter arm (YR. 53-)

1шт.

10

U17446

PLATE, supporting, trash roll, right, w/pin (Riveted assembly) (YR. 53-)

1шт.

11

UA1233

BOX, trash roll shaft, upper (YR. 53-)

2шт.

12

ST1301

BEARING, roller, trash roll drive shaft bearing box, upper (Implement type) (YR. 53-)

2шт.

13

U1984

SPROCKET, trash roll drive (6-T) (YR. 54-)

1шт.

17053R1

LOCK PIN,Sl Spring, 1/4" x 1 3/8"

PIN, 1/4" x 1 3/8", Slotted

1шт.

14

U1232

BOX, trash roll drive shaft lower (YR. 53-)

2шт.

15

219-36

LUBE NIPPLE,45 Degree Elbow, 1/8" - 27 NPTF

FITTING, lubrication, straight, 1/8" (YR. 53-)

1шт.

16

U5307

BEARING

roller, trash roll drive shaft bearing box, lower (Implement type) (YR. 53-)

2шт.

17

U17642

SHAFT, trash roll, lower (YR. 53-54)

1шт.

VC649

WASHER

plain, 29/32" I.D. x 1-3/4" O.D. x no. 16 ga.

4шт.

17

579354R1

SHAFT, trash roll, lower (YR. 54-)

1шт.

18

U18182

ANGLE, trash deflector support bracket, w/tie (Welded assembly) (YR. 53-)

1шт.

19

575802R1

HOLDER, trash roll sprocket and slip clutch (YR. 53-54)

1шт.

20

12102L

RATCHET

trash roll slip clutch (YR. 53-54)

2шт.

21

UA1804

SLEEVE, trash roll sprocket slip clutch (YR. 53-54)

1шт.

117908

PIN, straight, 5/16 x 1-3/16"

1шт.

22

U18217

PLATE, tension trash roll slip clutch (YR. 53-54)

1шт.

12733R1

BOLT, carriage, dld., 5/16-18NC x 2-1/2"

3шт.

R328

NUT, horned, 5/16-18NC

3шт.

103362

COTTER PIN,1/16" x 3/4"

Pin, Split (Cotter), 1/16" x 3/4"

3шт.

Q397

WASHER

plain, 11/32" I.D. x 3/4" O.D. x no. 16 ga.

3шт.

23

U13033

SPRING

trash roll slip clutch (YR. 53-54)

3шт.

24

U18175

BRACKET, supporting, trash deflector (YR. 53-)

2шт.

25

U18180

DEFLECTOR, trash (YR. 53-)

2шт.

14986R1

BOLT, carriage, 5/16-18NC x 1/2"

4шт.

14994R1

CARRIAGE BOLT,Sq Nk, 5/16" - 18 x 3/4", Gr 2

BOLT, CARRIAGE, Short NK, 5/16"-18 x 3/4", G2

8шт.

9635082

NUT,5/16" - 18, Gr 5

hex., 5/16-18NC

12шт.

103320

LOCK WASHER,5/16"

WASHER, LOCK, 5/16"

12шт.

26

UB11374

GUARD, trash roll gear, w/clip (Welded assembly) (YR. 53-)

1шт.

14986R1

BOLT, carriage, 5/16-18NC x 1/2"

2шт.

9635082

NUT,5/16" - 18, Gr 5

hex., 5/16-18NC

2шт.

103320

LOCK WASHER,5/16"

WASHER, LOCK, 5/16"

2шт.

27

U1452

GEAR, trash roll (YR. 53-)

2шт.

576483R1

LOCK PIN,5/16" x 1 1/2", Slotted

Pin, 5/16" x 1 1/2", Slotted

2шт.

28

U10648

PIN, pivot, trash roll shifter arm (YR. 53-)

1шт.

103384

COTTER PIN,1/8" x 3/4"

Pin, Split (Cotter), 1/8" x 3/4"

2шт.

29

U17445

PLATE, supporting, trash roll, left, w/pin (Riveted assembly) (YR. 53-)

1шт.

30

U19418

ROD, trash roll spring (YR. 53-)

2шт.

9635082

NUT,5/16" - 18, Gr 5

hex., 5/16-18NC

4шт.

Q397

WASHER

plain, 11/32" I.D. x 3/4" O.D. x no. 16 ga.

4шт.

31

UA10647

CLIP, trash roll gear guard (YR. 53-)

2шт.

Выбрано товаров: 57