Запчасти Case IH 2016 (20.12) - HYDRAULIC CYLINDER (35) - HYDRAULIC SYSTEMS

Схема запчастей Case IH 2016 - (20.12) - HYDRAULIC CYLINDER (35) - HYDRAULIC SYSTEMS
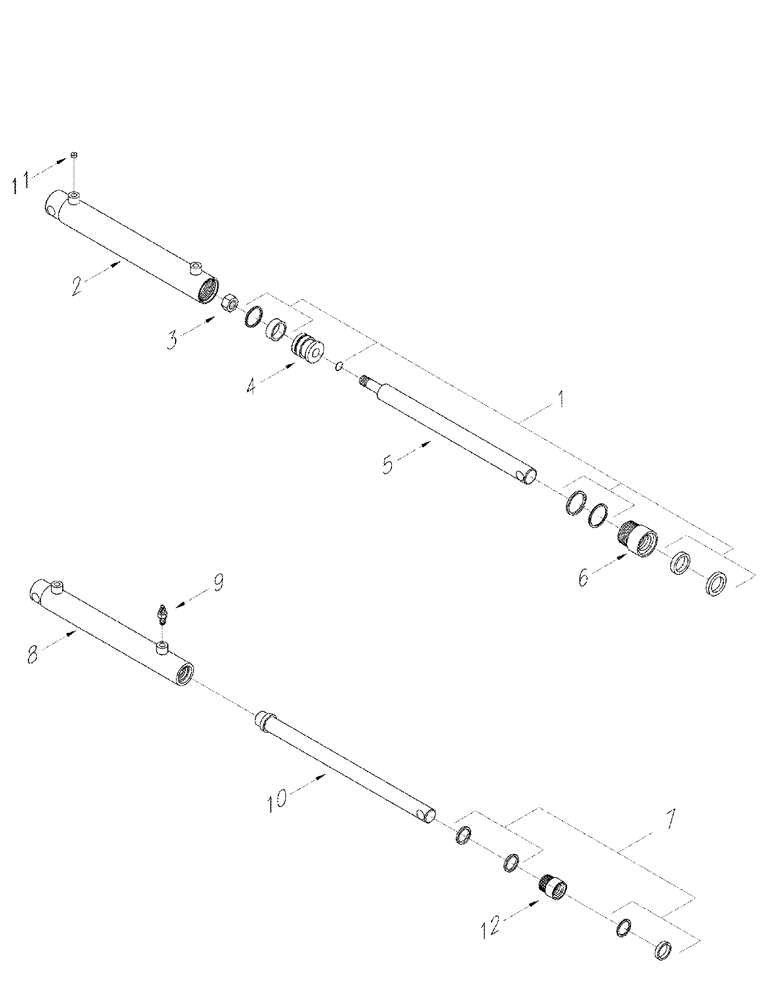
1
12
10
6
11
3
5
8
7
9
2
4
FIT
1:1
100%

Артикул

Название

Примечание

Количество

413650A1

CYLINDER,Double Acting, 254mm Stroke

Master

1шт.

87423619

CYLINDER

Slave

1шт.

1

87423620

SEAL KIT

Seal, Master

1шт.

2

NSS

NOT SOLD SEPARAT

Master, Cylinder Body

1шт.

3

NSS

NOT SOLD SEPARAT

1шт.

4

NSS

NOT SOLD SEPARAT

Master, 3000 PSI

1шт.

5

NSS

NOT SOLD SEPARAT

Master, 3000 PSI

1шт.

6

NSS

NOT SOLD SEPARAT

Master, 3000 PSI

1шт.

7

87423622

SEAL KIT

Slave, 3000 PSI

1шт.

8

NSS

NOT SOLD SEPARAT

Slave, Cylinder Body

1шт.

9

413661A1

PLUG

Bleed, Slave, 3000 PSI, #4 O-Ring

1шт.

10

NSS

NOT SOLD SEPARAT

Slave, 3000 PSI

1шт.

11

403772A1

ORIFICE

Master, #6 O-Ring x 0.03125"

1шт.

12

NSS

NOT SOLD SEPARAT

Slave, 3000 PSI

1шт.

Выбрано товаров: 0