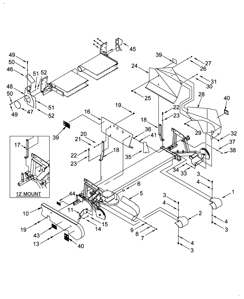
Запчасти Case IH 2016 (20.25) - SHIELD, RAKE TYPE (39) - FRAMES AND BALLASTING

Схема запчастей Case IH 2016 - (20.25) - SHIELD, RAKE TYPE (39) - FRAMES AND BALLASTING
6
46
2
51
43
50
25
35
36
52
47
48
28
41
24
39
3
50
3
15
34
18
3
8
4
23
31
38
33
17
19
9
10
29
4
44
11
7
27
4
4
45
20
23
37
3
21
18
40
39
19
32
22
51
16
14
22
13
1
49
52
49
49
26
5
30
FIT
1:1
100%

Артикул

Название

Примечание

Количество

1

87494142

GUARD

Idler End, Front Roller, 12 Ft, Grass Seed Special

1шт.

1

373922A1

GUARD

Idler End, Front Roller, 14 & 16 Ft

1шт.

2

373924A1

GUARD

Drive End, Front Roller, 14 & 16 Ft

1шт.

2

87494143

GUARD

Drive End, Front Roller, 12 Ft, Grass Seed Special

1шт.

3

88434

BOLT,Hex, 3/8" - 16 x 3/4", Gr 5

4шт.

4

140045

BELLEVILLE WASHER,M10 Bolt Size x 22mm OD x 1.6mm Thk

4шт.

5

373926A1

GUARD

Scroll Plate

1шт.

6

87635817

PLUG

1-1/4", Scroll Plate

1шт.

7

88542

BOLT,Hex, 1/4"-20 x 1/2", Gr 5

5шт.

8

322357

BELLEVILLE WASHER,M6 Bolt Size x 14mm OD x 1.3mm Thk

5шт.

9

86636807

WASHER

1/4"

5шт.

10

86989882

GUARD

Belt, W/3-Panel Decal

1шт.

10

446284A1

GUARD

Belt, W/2-Panel Wordless Decal

1шт.

11

87642413

BRACKET

Belt Guard

1шт.

13

450-73112

SERRATED SCREW,Truss HD, 5/16" - 18 x 3/4"

3шт.

14

322358

BELLEVILLE WASHER,M8 Bolt Size x 18mm OD x 1.4mm Thk

4шт.

15

9635082

NUT,5/16" - 18, Gr 5

4шт.

16

87749380

GUARD ASSY.

Drive End, W/3-Panel Decal

1шт.

16

446282A1

GUARD

Drive End, W/2-Panel Wordless Decal

1шт.

17

373894A1

BRACKET

12 Ft

2шт.

18

373895A1

BRACKET

14 Ft & 16 Ft, Offset

2шт.

19

619978

SCREW

Truss Hd, USR, 5/16"-18 x 1"

4шт.

20

322358

BELLEVILLE WASHER,M8 Bolt Size x 18mm OD x 1.4mm Thk

3шт.

21

9635082

NUT,5/16" - 18, Gr 5

3шт.

22

88206

BOLT,Hex, 3/8" - 16 x 1", Gr 5

2шт.

23

140045

BELLEVILLE WASHER,M10 Bolt Size x 22mm OD x 1.6mm Thk

2шт.

24

87494147

WINDGUARD

Idler End, W/3-Panel Decal

1шт.

24

446280A1

GUARD

Idler End, W/2-Panel Wordless Decal

1шт.

25

619978

SCREW

Truss Hd, USR, 5/16" x 1"

2шт.

26

322358

BELLEVILLE WASHER,M8 Bolt Size x 18mm OD x 1.4mm Thk

2шт.

27

9635082

NUT,5/16" - 18, Gr 5

2шт.

28

86989875

GUARD

Idler Rotor, W/3-Panel Decal

1шт.

28

373914A1

GUARD

Idler Rotor, W/2-Panel Wordless Decal

1шт.

29

450-73112

SERRATED SCREW,Truss HD, 5/16" - 18 x 3/4"

3шт.

30

322358

BELLEVILLE WASHER,M8 Bolt Size x 18mm OD x 1.4mm Thk

3шт.

31

9635082

NUT,5/16" - 18, Gr 5

3шт.

32

450-73112

SERRATED SCREW,Truss HD, 5/16" - 18 x 3/4"

2шт.

33

322358

BELLEVILLE WASHER,M8 Bolt Size x 18mm OD x 1.4mm Thk

2шт.

34

9635082

NUT,5/16" - 18, Gr 5

2шт.

35

376884A1

SHIELD

Idler Rotor

1шт.

36

9635884

BOLT,Hex, 5/16" - 18 1", Full Thd, Gr 5

2шт.

37

322358

BELLEVILLE WASHER,M8 Bolt Size x 18mm OD x 1.4mm Thk

2шт.

38

9635082

NUT,5/16" - 18, Gr 5

2шт.

39

86989680

DECAL

Attention, Storage Beace Rotation, 3 Panel

2шт.

39

446299A1

DECAL

2-Panel Wordless

2шт.

40

86996879

DECAL

Warning, Pinch Point, 3-Panel

2шт.

40

278215A1

DECAL

2-Panel Wordless

2шт.

41

87362

WASHER,5/16" SAE

2шт.

43

86626958

WARNING DECAL

Do Not Open, 3-Panel

1шт.

43

84004734

WARNING DECAL

2-Panel Wordless

1шт.

44

87532571

DECAL

Warning, Shield Open, 3-Panel

1шт.

44

84011345

DECAL

Chain Entanglement, 2-Panel, Wordless

1шт.

45

376883A1

GUARD

End

1шт.

46

376880A1

FLAP

Rear Belt Guard

1шт.

47

376882A1

COVER

Alternate End Drive

2шт.

48

376879A1

GUARD

Belt, Rear

1шт.

49

88146

BOLT,Hex, 1/4" - 20 x 1", Gr 5

4шт.

50

86636807

WASHER

1/4"

4шт.

51

322357

BELLEVILLE WASHER,M6 Bolt Size x 14mm OD x 1.3mm Thk

4шт.

52

7770

NUT,Hex, 1/4 - 20, Cl 5

1шт.

Выбрано товаров: 60