Запчасти Case IH 2016 (60.220.06) - DRIVE SHAFT (60) - PRODUCT FEEDING

Схема запчастей Case IH 2016 - (60.220.06) - DRIVE SHAFT (60) - PRODUCT FEEDING
5
4
9
10
10
6
7
26
19
21
20
14
20
1
11
13
2
8
22
16
7
418
17
16
15
23
13
24
19
3
FIT
1:1
100%

Артикул

Название

Примечание

Количество

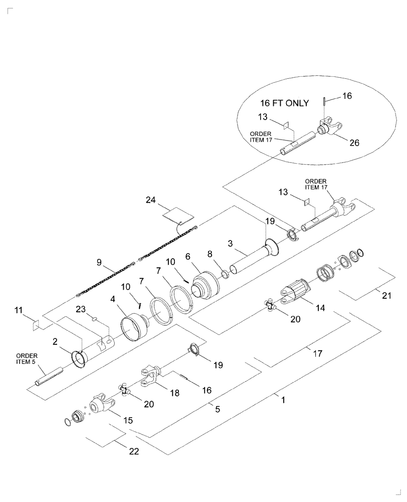
1

87532573

DRIVE SHAFT

12' & 14'

1шт.

1

87532574

DRIVE SHAFT

16'

1шт.

2

84139605

OUTER SHIELD

12' & 14'

1шт.

2

84147690

SHIELD

Outer, 16'

1шт.

3

87433423

SHIELD

Inner, 12' & 14'

1шт.

3

87551248

SHIELD

Shield, Inner, 16'

1шт.

4

87433421

SHIELD

Cone, 7 Rib

1шт.

5

84147694

DRIVE ASSY.

Half, Combine End, 12' & 14'

1шт.

5

84147692

DRIVE ASSY.

Half, Combine End, 16'

1шт.

6

87432435

SHIELD

Cone, 5 Rib Black

1шт.

7

80564C1

COLLAR

Reinforcing

2шт.

8

1281454C1

SUPPORT

Bearing

1шт.

9

1281453C1

CHAIN (AG)

2шт.

10

87432438

SCREW

2шт.

11

849471

DANGER DECAL

Rotating Driveline

1шт.

12

Not Used

1шт.

13

1326528C1

DECAL

Missing Guard

1шт.

14

389015A1

CLUTCH ASSEMBLY

850 Nm

1шт.

14

700703406

CAM

24шт.

14

700703408

SPRING

Outer

24шт.

14

297908A1

SPRING

Inner

11шт.

14

298004A1

RING

1шт.

15

389386A1

YOKE

1-3/8"-Z6, QD, W

1шт.

16

30907R1

LOCK PIN,M10 x 70, Slotted

2шт.

17

84147693

DRIVE ASSY.

Half, Header End, 12' & 14'

1шт.

17

84147691

DRIVE ASSY.

Half, Header End, 16'

1шт.

18

389011A1

LINKAGE YOKE

W/Shaft

1шт.

19

1281450C1

RING

Bearing

2шт.

20

87433419

KIT

Repair, Cross

2шт.

21

87547C1

KIT

Repair, Quick Disconnect

1шт.

22

389033A1

KIT

Repair, Disconnect Slide

1шт.

23

87432434

DECAL

CE Mark

1шт.

24

Instruction Manual

1шт.

25

Not used

1шт.

26

389014A1

LINKAGE YOKE

Clutch End, W/Shaft, 16 Ft

1шт.

700707556

NIPPLE, LUBE

NIPPLE Not Shown

1шт.

Выбрано товаров: 36