Запчасти Case IH 2016 (60.220.16) - ROTOR-IDLER END, RAKE-UP (60) - PRODUCT FEEDING

Схема запчастей Case IH 2016 - (60.220.16) - ROTOR-IDLER END, RAKE-UP (60) - PRODUCT FEEDING
FIT
1:1
100%

Артикул

Название

Примечание

Количество

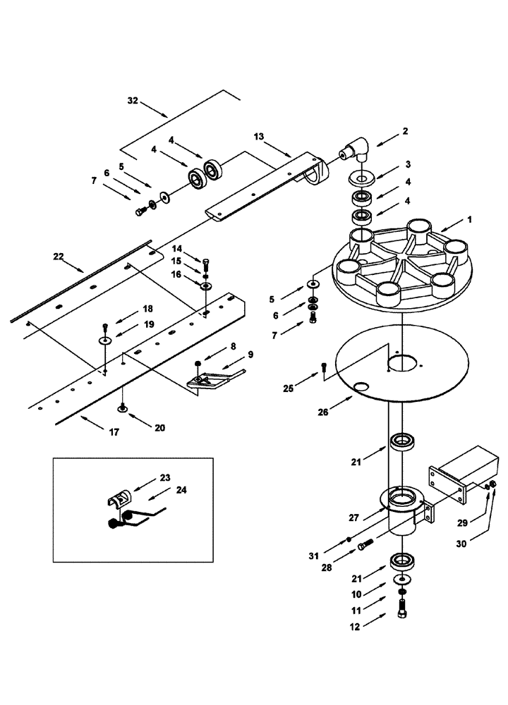
1

373985A1

ROTOR ASSY.

With Idle Rotor & Bearings

1шт.

2

373868A1

ELBOW

6шт.

3

373934A1

CAP

6шт.

4

84188095

BALL BEARING,25mm ID x 52mm OD x 15mm W

24шт.

5

496-81028

WASHER,10.31mm ID x 31.75mm OD x 4.06mm Thk

12шт.

6

140045

BELLEVILLE WASHER,M10 Bolt Size x 22mm OD x 1.6mm Thk

(6 plus as required for shimming)

1шт.

7

413-612

BOLT,Hex, 3/8" - 16 x 3/4", Gr 5

12шт.

8

231-5144

SERRATED NUT,Flg, USR, 1/4"-20

28/Bar, 12 Ft

168шт.

8

231-5144

SERRATED NUT,Flg, USR, 1/4"-20

32/Bar, 14 Ft

192шт.

8

231-5144

SERRATED NUT,Flg, USR, 1/4"-20

32/Bar, 16 Ft

216шт.

9

373945A1

TOOTH

28/Bar, 12 Ft

168шт.

9

373945A1

TOOTH

32/Bar, 14 Ft

192шт.

9

373945A1

TOOTH

32/Bar, 16 Ft

216шт.

10

374632A1

WASHER

2" x 17/32" x 3/16"

1шт.

11

140046

BELLEVILLE WASHER,M12 Bolt Size x 27mm OD x 1.8mm Thk

1шт.

12

413-824

BOLT,Hex, 1/2" - 13 x 1-1/2", Gr 5

1шт.

13

NSS

NOT SOLD SEPARAT

ARM, Idler

6шт.

14

413-516

BOLT,Hex, 5/16" - 18 x 1", Gr 5

48шт.

15

322358

BELLEVILLE WASHER,M8 Bolt Size x 18mm OD x 1.4mm Thk

48шт.

16

495-81002

WASHER,3/8"

48шт.

17

87635746

BELT

Finger Bar, 6" x 12', 12 Ft, Grass Seed Special

6шт.

17

373947A1

BELT

Finger Bar, 4" x 12 Ft, Standard

6шт.

17

373948A1

BELT,101.6 mm W x 3870.3 mm L

Finger Bar, 4" x 14', 14 Ft

6шт.

17

87448949

BELT

Finger Bar, 4" x 14', 16 Ft

6шт.

18

377773A1

SCREW,Hex, #14 x 19mm

#14, 3/4" Sheet Metal, 12 Ft, 21/Bar

126шт.

18

377773A1

SCREW,Hex, #14 x 19mm

#14, 3/4" Sheet Metal, 14 Ft, 25/Bar

150шт.

18

377773A1

SCREW,Hex, #14 x 19mm

#14, 3/4" Sheet Metal, 16 Ft, 25/Bar

174шт.

18

261-14812

SELF-TAP SCREW,Cross Pan Hd, 5/16" x 3/4"

[Use If #14 Strip]

1шт.

19

374327A1

WASHER

1/4", 21/Bar, 12 Ft

126шт.

19

374327A1

WASHER

1/4", 25/Bar, 14 Ft

150шт.

19

374327A1

WASHER

1/4", 25/Bar, 16 Ft

174шт.

20

377386A1

BOLT

1/4"-20 x 3/4", 12 Ft, 28/Bar

168шт.

20

377386A1

BOLT

1/4"-20 x 3/4", 14 Ft, 32/Bar

192шт.

20

377386A1

BOLT

1/4"-20 x 3/4", 16 Ft, 32/Bar

216шт.

21

374105A1

BALL BEARING,35mm ID x 62mm OD x 14mm W

2шт.

22

373929A1

BAR

Finger, Cut, coped, 12 Ft

6шт.

22

373930A1

BAR

Finger, Cut, coped, 14 Ft

6шт.

22

87448948

BAR

Finger, Cut, coped, 16 Ft

6шт.

23

374175A1

RETAINER

28/Bar, 12 Ft

168шт.

23

374175A1

RETAINER

32/Bar, 14 Ft

192шт.

23

374175A1

RETAINER

36/Bar, 16 Ft

216шт.

24

374174A1

TOOTH

28/Bar, 12 Ft

168шт.

24

374174A1

TOOTH

32/Bar, 14 Ft

192шт.

24

374174A1

TOOTH

36/Bar, 16 Ft

216шт.

25

413-48

BOLT,Hex, 1/4" - 20 x 1/2", Gr 5

3шт.

26

87642418

PLATE

Cover

1шт.

27

373943A1

HOUSING

1шт.

28

413-620

BOLT,Hex, 3/8" - 16 x 1-1/4", Gr 5

4шт.

29

95-81077

WASHER,0.39" ID x 0.62" OD x 0.07" Thk

4шт.

30

87039402

NUT,3/8"-16, GB

4шт.

31

9626558

FLANGE NUT,Flg, 1/4"-20

3шт.

32

374194A1

ARM

6шт.

Выбрано товаров: 52