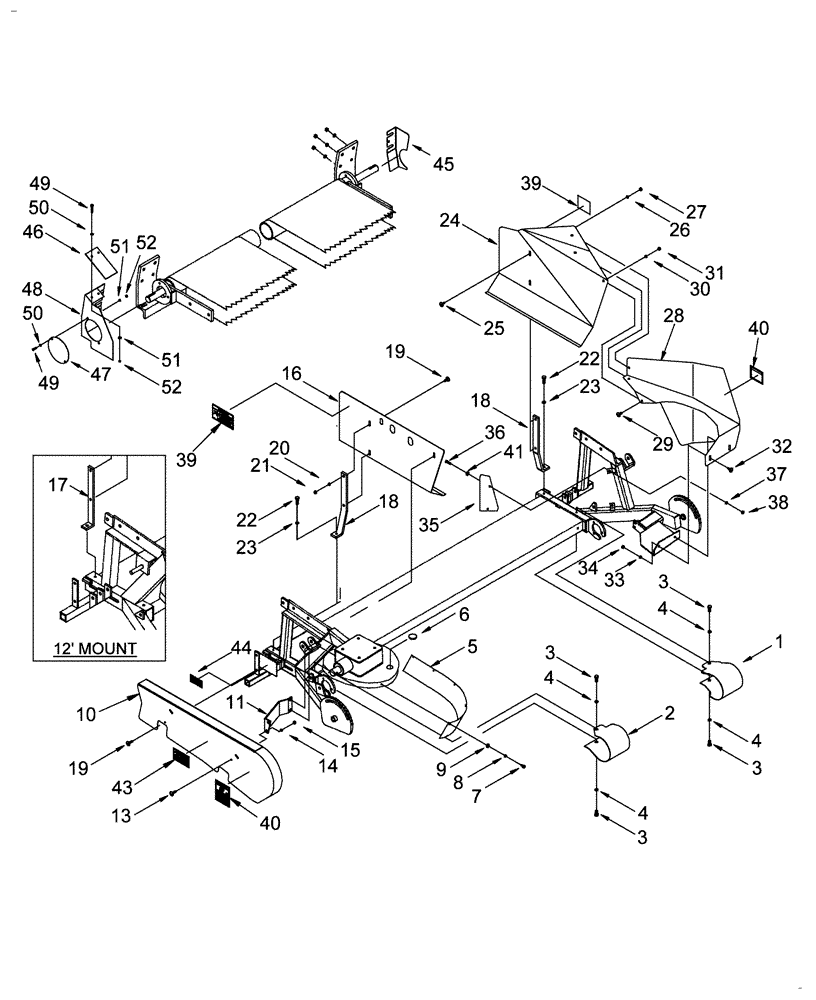
Запчасти Case IH 2016 (60.220.18) - SHIELD ASSEMBLY, RAKE-UP (60) - PRODUCT FEEDING

Схема запчастей Case IH 2016 - (60.220.18) - SHIELD ASSEMBLY, RAKE-UP (60) - PRODUCT FEEDING
52
14
22
23
22
35
38
27
8
48
19
31
15
23
51
34
3
30
3
36
18
24
44
11
17
26
21
16
13
49
37
32
9
39
3
7
4
43
41
2
28
52
4
33
4
45
10
5
6
50
50
47
20
18
3
49
46
1
40
19
39
4
51
40
2525
FIT
1:1
100%

Артикул

Название

Примечание

Количество

1

87494142

GUARD

Front Roller Idler, Right Hand Drive, 12 Ft, Grass Seed Special

1шт.

1

373922A1

GUARD

Front Roller Idler, Right Hand Drive, 14 & 16 ft

1шт.

2

373924A1

GUARD

Front Roller Drive, Right Hand Drive, 14 & 16 Ft

1шт.

2

87494143

GUARD

Front Roller Drive, Right Hand Drive, 12 Ft, Grass Seed Special

1шт.

3

413-612

BOLT,Hex, 3/8" - 16 x 3/4", Gr 5

4шт.

4

140045

BELLEVILLE WASHER,M10 Bolt Size x 22mm OD x 1.6mm Thk

4шт.

5

373926A1

GUARD

Scroll Plate

1шт.

6

87635817

PLUG

1-1/4", Scroll Plate

1шт.

7

413-48

BOLT,Hex, 1/4" - 20 x 1/2", Gr 5

5шт.

8

322357

BELLEVILLE WASHER,M6 Bolt Size x 14mm OD x 1.3mm Thk

5шт.

9

495-31031

WASHER,0.31" ID x 0.88" OD x 0.07" Thk

5шт.

10

86989882

GUARD

Belt Right Hand Drive With 3 Panel Decal

1шт.

10

446284A1

GUARD

Belt Right Hand Drive With 2 Panel Decal

1шт.

11

87642413

BRACKET

Belt Guard, Front, Right Hand Drive

1шт.

13

450-73112

SERRATED SCREW,Truss HD, 5/16" - 18 x 3/4"

3шт.

14

322358

BELLEVILLE WASHER,M8 Bolt Size x 18mm OD x 1.4mm Thk

4шт.

15

425-105

NUT,5/16"-18, G5

4шт.

16

87749380

GUARD ASSY.

Wind, Right Hand Drive End With 3 Panel Decal

1шт.

16

446282A1

GUARD

Wind, Right Hand Drive End With 2 Panel Decal

1шт.

17

373894A1

BRACKET

Wind Guard, 12 Ft

2шт.

18

373895A1

BRACKET

Wind Guard, 14 Ft & 16 Ft

2шт.

19

477-73116

SERRATED SCREW,Truss HD, 5/16" - 18 x 1"

4шт.

20

322358

BELLEVILLE WASHER,M8 Bolt Size x 18mm OD x 1.4mm Thk

3шт.

21

425-105

NUT,5/16"-18, G5

3шт.

22

413-616

BOLT,Hex, 3/8" - 16 x 1", Gr 5

2шт.

23

140045

BELLEVILLE WASHER,M10 Bolt Size x 22mm OD x 1.6mm Thk

2шт.

24

87494147

WINDGUARD

Wind, Idler With 3 Panel Decal, Right Hand Drive

1шт.

24

446280A1

GUARD

Wind, Idler With 2 Panel Decal, Right Hand Drive

1шт.

25

477-73116

SERRATED SCREW,Truss HD, 5/16" - 18 x 1"

2шт.

26

322358

BELLEVILLE WASHER,M8 Bolt Size x 18mm OD x 1.4mm Thk

2шт.

27

425-105

NUT,5/16"-18, G5

2шт.

28

86989875

GUARD

Idler Rotor, Right Hand Drive With 3 Panel Decal

1шт.

28

373914A1

GUARD

Idler Rotor, Right Hand Drive With 2 Panel Decal

1шт.

29

450-73112

SERRATED SCREW,Truss HD, 5/16" - 18 x 3/4"

3шт.

30

322358

BELLEVILLE WASHER,M8 Bolt Size x 18mm OD x 1.4mm Thk

3шт.

31

425-105

NUT,5/16"-18, G5

3шт.

32

450-73112

SERRATED SCREW,Truss HD, 5/16" - 18 x 3/4"

2шт.

33

322358

BELLEVILLE WASHER,M8 Bolt Size x 18mm OD x 1.4mm Thk

2шт.

34

425-105

NUT,5/16"-18, G5

2шт.

35

376884A1

SHIELD

Idler Rotor

1шт.

36

413-516

BOLT,Hex, 5/16" - 18 x 1", Gr 5

2шт.

37

322358

BELLEVILLE WASHER,M8 Bolt Size x 18mm OD x 1.4mm Thk

2шт.

38

425-105

NUT,5/16"-18, G5

2шт.

39

86989680

DECAL

Attention, Storage Brace Rotation, 3 Panel

2шт.

39

446299A1

DECAL

Attention, Storage Brace, ISO Non-Verbal

2шт.

40

86996879

DECAL

Warning, Pinch Point, 3 Panel

2шт.

40

278215A1

DECAL

Danger, Pinch Point, ISO Non-Verbal

2шт.

41

495-11034

WASHER,5/16", SAE

2шт.

43

86626958

WARNING DECAL

Do Not Open, 3 Panel, English

1шт.

43

144373A1

WARNING DECAL

Do Not Open, Chain Entanglement, ISO Non-Verbal

1шт.

44

87532571

DECAL

Warning, Shield Open, ANSI Verbal

1шт.

44

84011345

DECAL

Warning, Shield Open, ISO Non-Verbal

1шт.

45

376883A1

GUARD

End, Right Hand Drive

1шт.

46

376880A1

FLAP

Rear Belt Guard

1шт.

47

376882A1

COVER

End Drive

2шт.

48

376879A1

GUARD

Belt, Rear, Right Hand Drive

1шт.

49

413-416

BOLT,Hex, 1/4" - 20 x 1", Gr 5

4шт.

50

495-31031

WASHER,0.31" ID x 0.88" OD x 0.07" Thk

4шт.

51

322357

BELLEVILLE WASHER,M6 Bolt Size x 14mm OD x 1.3mm Thk

4шт.

52

425-104

NUT,1/4"-20, Cl 5

1шт.

Выбрано товаров: 0