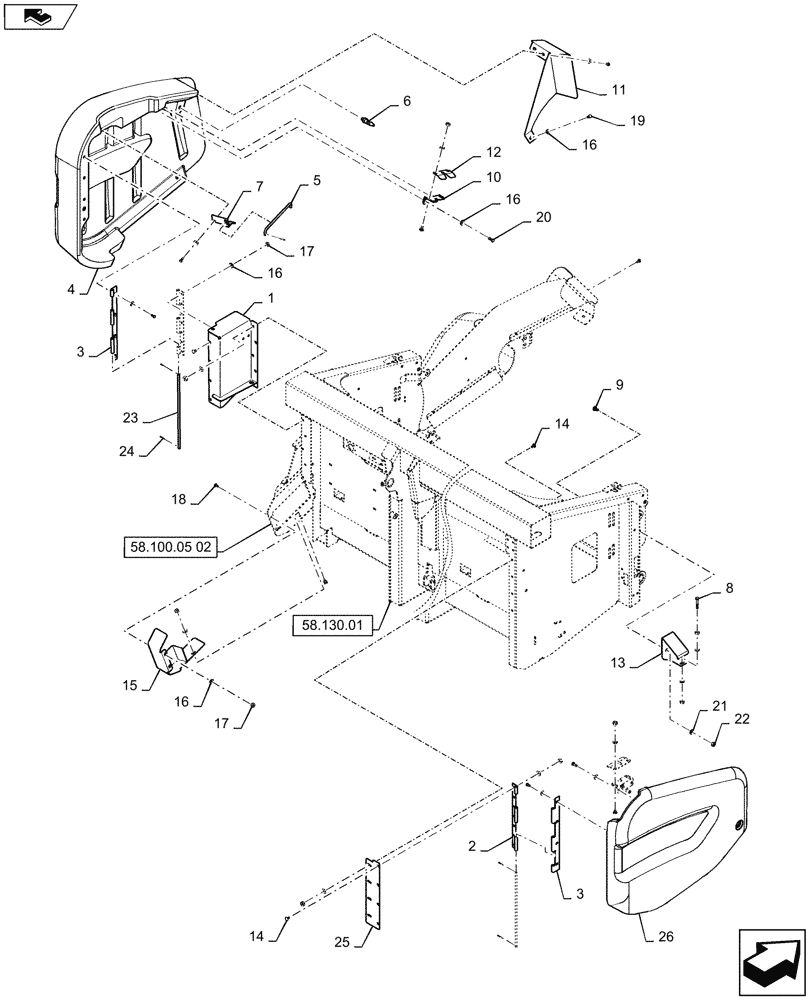
Запчасти Case IH 3016 (90.119.01) - SHIELDS, AUGER DRIVE (90) - PLATFORM, CAB, BODYWORK AND DECALS

Схема запчастей Case IH 3016 - (90.119.01) - SHIELDS, AUGER DRIVE (90) - PLATFORM, CAB, BODYWORK AND DECALS
58.130.01
12
21
24
19
16
20
6
9
17
16
15
18
25
home
13
11
14
16
4
8
1
14
5
3
23
7
26
3
17
22
2
16
10
58.100.05 02
FIT
1:1
100%

Артикул

Название

Примечание

Количество

1

84309776

SUPPORT

1шт.

2

84296555

HINGE

2шт.

3

84296550

HINGE

2шт.

4

84173106

SHIELD

LH

1шт.

5

87725861

ROD

1шт.

6

87749134

PIN

1шт.

7

87481333

BRACKET, SUPPORTING

Stop

1шт.

8

43130

BOLT,Hex, M8 x 1.25 x 50mm, Cl 8.8

1шт.

9

120041

CARRIAGE BOLT,M10 x 20mm, Cl 8.8

2шт.

10

87719151

LOCK

2шт.

11

84271897

COVER

1шт.

12

84469549

BRACKET

2шт.

13

84283602

BRACKET, SUPPORTING

1шт.

14

86619060

CARRIAGE BOLT,M8 x 1.25 x 16mm, Cl 8.8

16шт.

15

84309778

COVER

RH

1шт.

16

322358

BELLEVILLE WASHER,M8 Bolt Size x 18mm OD x 1.4mm Thk

43шт.

17

9706690

NUT,M8 x 1.25, Cl 8

26шт.

18

86507486

CARRIAGE BOLT,M8 x 1.25 x 20mm, Cl 8.8

8шт.

19

120103

BOLT,M8 x 1.25 x 16mm, Cl 8.8

10шт.

20

120104

BOLT,Hex, M8 x 1.25 x 20mm, Cl 8.8

6шт.

21

140045

BELLEVILLE WASHER,M10 Bolt Size x 22mm OD x 1.6mm Thk

2шт.

22

100016

NUT,M10 x 1.5, Cl 8

2шт.

23

87330714

ARTICULATED SHAFT

2шт.

24

10796401

COTTER PIN,M3.2 x 18

2шт.

25

84290384

MOUNTING PLATE

1шт.

26

84281062

SHIELD

1шт.

Выбрано товаров: 26