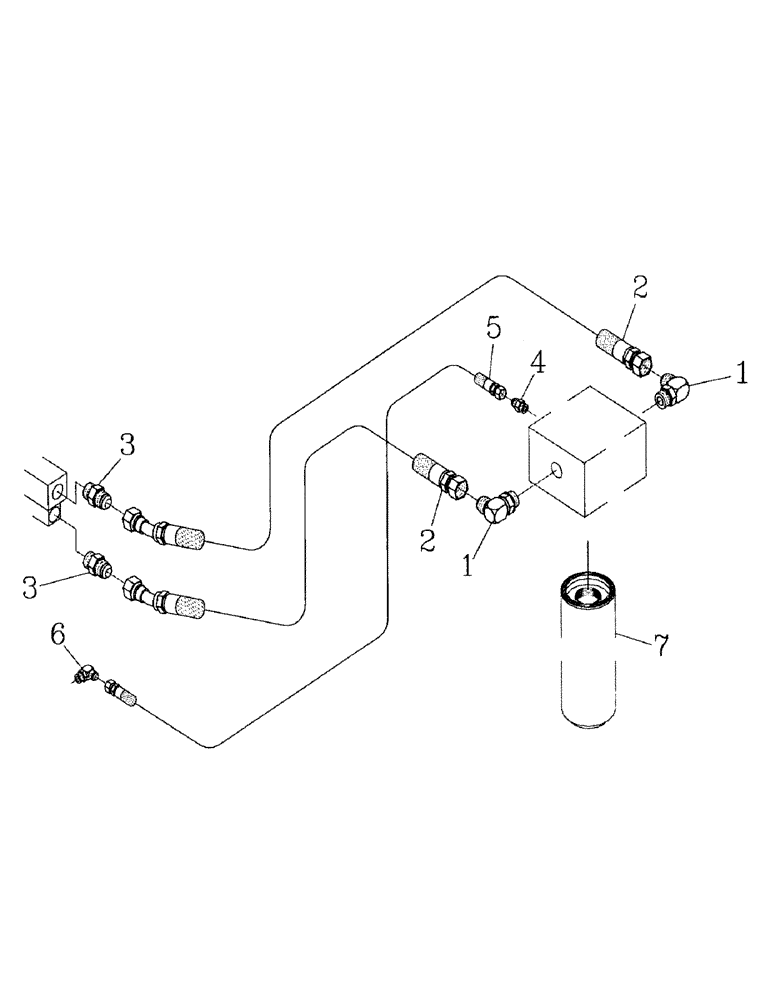
Запчасти Case IH 7000 (C01-10) - REMOTE OIL FILTER, M11-250/M11-330 Engine & Engine Attachments

Схема запчастей Case IH 7000 - (C01-10) - REMOTE OIL FILTER, M11-250/M11-330 Engine & Engine Attachments
2
3
4
2
7
1
6
1
3
5
FIT
1:1
100%

Артикул

Название

Примечание

Количество

1

00400097

HYD CONNECTOR

ELBOW

2шт.

2

87229485

HOSE

2шт.

3

00400234

HYD CONNECTOR

NIPPLE

2шт.

4

00401861

HYD CONNECTOR

NIPPLE

1шт.

5

84004200

HOSE

1шт.

6

00400193

HYD CONNECTOR

ELBOW

1шт.

7

00180654

ELEMENT

OIL FILTER

1шт.

Выбрано товаров: 7