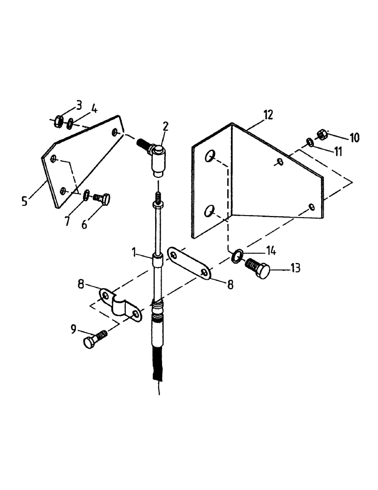
Запчасти Case IH 7000 (C04-03) - THROTTLE, 6CT Engine & Engine Attachments

Схема запчастей Case IH 7000 - (C04-03) - THROTTLE, 6CT Engine & Engine Attachments
2
12
11
14
7
10
8
8
6
1
3
9
5
4
13
FIT
1:1
100%

Артикул

Название

Примечание

Количество

1

00181789

CABLE

1шт.

2

00181790

BALL JOINT

1шт.

3

00605799

NUT

1шт.

4

00605825

WASHER

1шт.

5

87234127

CLAMP BRACKET

LEVER

1шт.

6

FA106012

BOLT

2шт.

7

WB060000

SPRING WASHER

WASHER

2шт.

8

00181791

CLAMP

1шт.

9

00606196

BOLT

2шт.

10

00606630

NUT

2шт.

11

00605824

WASHER

2шт.

12

87223270

CLAMP

BRACKET

1шт.

13

FA110020

BOLT

2шт.

14

WB100000

WASHER

2шт.

Выбрано товаров: 0