Запчасти Case IH 7000 (B04-01) - HYDRAULICS, FLOW DIVIDER, PUMP BOX Hydraulic Components & Circuits

Схема запчастей Case IH 7000 - (B04-01) - HYDRAULICS, FLOW DIVIDER, PUMP BOX Hydraulic Components & Circuits
14
10
23
20
7
26
18
2
10
8
8
12
7
14
28
15
7
10
8
21
19
22
7
7
12
12
17
14
7
29
10
10
27
10
39
8
12
14
17
14
12
8
12
8
14
18
FIT
1:1
100%

Артикул

Название

Примечание

Количество

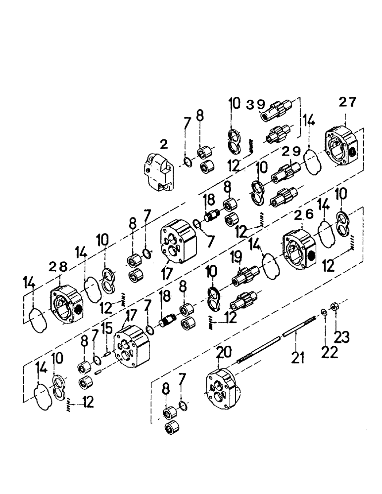
2

00407625

COVER

END COVER (Ported)

1шт.

7

00400507

SEAL

RING

6шт.

8

00400508

BEARING

CYLINDER BEARING

12шт.

10

00400516

RETAINER

THRUST PLATE

6шт.

11

00400517

SEAL

STRIP

3шт.

14

00407628

ASSEMBLY

GASKET

8шт.

17

00407626

CARRIER

2шт.

18

00400527

SHAFT

2шт.

19

00400536

GEAR

1шт.

20

00400514

COVER ASSY

END COVER

1шт.

21

00400668

STUD

(Short)

2шт.

21

00400686

STUD

(Long)

2шт.

22

00400531

WASHER

8шт.

23

00400532

NUT

12шт.

26

00407703

HOUSING

1шт.

27

00400572

HOUSING

1шт.

28

00407627

TRANSMISSION HOUSING

HOUSING

1шт.

29

00400519

GEAR

1шт.

39

00400551

GEAR

1шт.

40

00407237

FLOW DIVIDER

ASSEMBLY

1шт.

41

00407795

SEAL KIT

1шт.

Выбрано товаров: 21