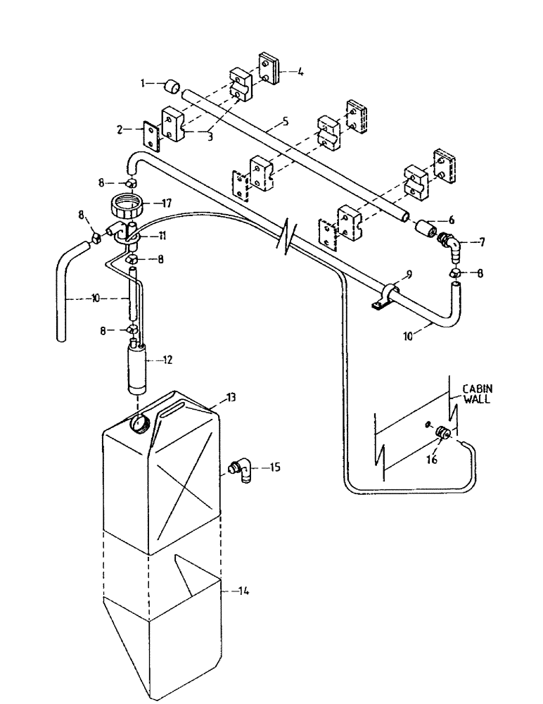
Запчасти Case IH 7000 (A04-22) - MAINFRAME, CABIN WINDSCREEN WASHER (Jul 16 2004 11:36:00.0015 PM) Mainframe & Functioning Components

Схема запчастей Case IH 7000 - (A04-22) - MAINFRAME, CABIN WINDSCREEN WASHER (Jul 16 2004 11:36:00.0015 PM) Mainframe & Functioning Components
8
2
6
8
12
8
1
3
9
8
4
10
16
11
10
14
7
13
17
8
5
15
FIT
1:1
100%

Артикул

Название

Примечание

Количество

1

00139795

FLANGE COVER CAP

ENDCAP

1шт.

2

00405216

COVER

PLATE AND BOLT

3шт.

3

00405223

CLAMP

3шт.

4

87223353

CLAMP

BASE

3шт.

5

87224298

TUBE

SPRAY TUBE

1шт.

6

00139953

SOCKET ASSY

SOCKET

1шт.

7

00139799

ELBOW

1шт.

8

00152126

HOSE CLAMP

CLAMP

5шт.

9

00134541

CLAMP

CLIP

5шт.

10

00154521

HOSE

1шт.

11

87224293

TUBE

OUTLET ASSEMBLY

1шт.

12

00139837

WATER PUMP

PUMP

1шт.

13

00139951

MEASURING CAN

CONTAINER (Water)

1шт.

14

87224274

HOLDER

(Container)

1шт.

15

00139954

ELBOW

1шт.

16

00135756

GROMMET

1шт.

17

87224350

CAP

(Container)

1шт.

Выбрано товаров: 0