Запчасти Case IH 7000 (B02-60) - HYDRAULIC MOTOR * M51B Hydraulic Components & Circuits

Схема запчастей Case IH 7000 - (B02-60) - HYDRAULIC MOTOR * M51B Hydraulic Components & Circuits
10
15
14
16
12
12
8
12
16
14
15
19
29
10
15
14
7
7
14
10
10
28
19
18
8
15
11
8
7
15
13
14
12
12
1
16
7
32
18
7
29
8
22
8
4
7
12
14
17
19
8
3
14
7
10
29
20
12
15
8
18
15
8
14
30
2
21
6
10
23
10
10
15
7
17
12
FIT
1:1
100%

Артикул

Название

Примечание

Количество

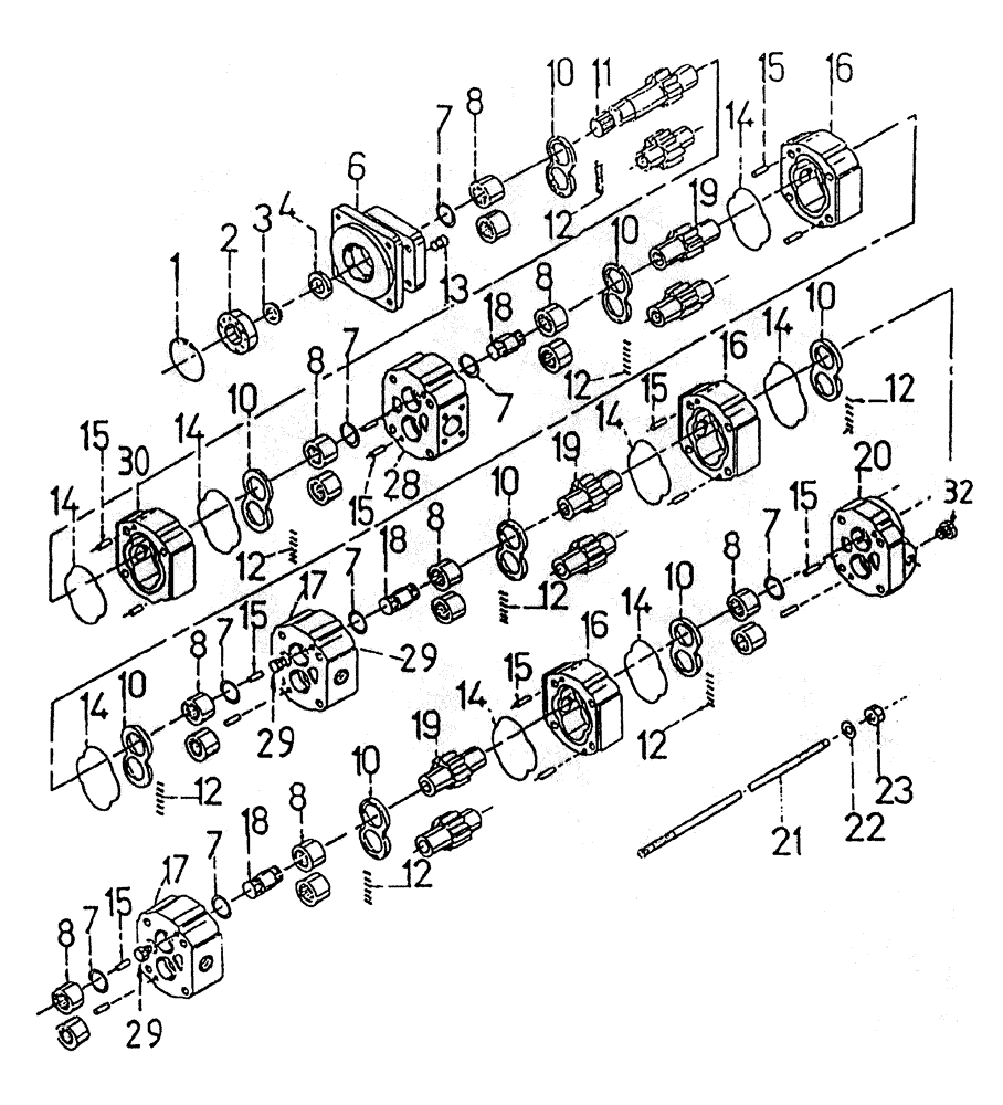
1

00400581

RING

snap

1шт.

2

00144114

BALL BEARING

1шт.

3

00400622

SEAL

RETAINER

1шт.

4

00400621

SEAL

1шт.

6

00405463

FLANGE

END COVER

1шт.

7

00400576

SEAL

6шт.

8

00400577

ROLLER

BEARING

16шт.

10

00400589

PLATE

thrust

8шт.

11

00400591

GEAR

1шт.

12

00400517

SEAL

STRIP

8шт.

13

00400608

CHECK VALVE

ASSEMBLY

2шт.

14

00400590

GASKET

8шт.

15

00404710

DOWEL

PIN

16шт.

16

00405466

HOUSING

3шт.

17

00405876

CARRIER

2шт.

18

00400598

SHAFT

3шт.

19

00400604

GEAR

SET

3шт.

20

00400582

FILTER ASSY

END COVER

1шт.

21

00407864

STUD

4шт.

22

00400531

WASHER

4шт.

23

00400532

NUT

4шт.

28

00408643

CARRIER

1шт.

29

00408685

VALVE, CHECK

CARTRIDGE

4шт.

30

00407863

TRANSMISSION HOUSING

1шт.

32

00400095

PLUG

PLUG

1шт.

33

00407865

SEAL KIT

1шт.

34

00408433

MOTOR, HYDRAULIC

ASSEMBLY

1шт.

Выбрано товаров: 0