Запчасти Case IH 7000 (B02-75) - HYDRAULIC MOTOR * M350A Hydraulic Components & Circuits

Схема запчастей Case IH 7000 - (B02-75) - HYDRAULIC MOTOR * M350A Hydraulic Components & Circuits
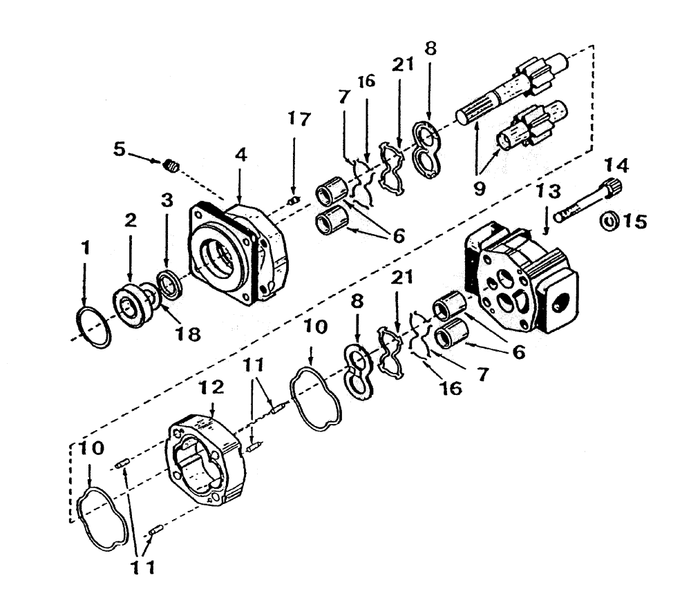
15
7
17
1
8
21
5
16
16
6
10
10
13
4
8
3
2
9
11
12
6
18
11
21
7
14
FIT
1:1
100%

Артикул

Название

Примечание

Количество

1

00400581

RING

snap

1шт.

2

00400580

BEARING

BEARING

1шт.

3

00400621

SEAL

1шт.

4

00408916

FLANGE COVER CAP

END COVER

1шт.

5

00407022

PLUG

1шт.

6

00404705

BUSHING

4шт.

7

00407382

SEAL

4шт.

8

00407381

THRUST PLATE

2шт.

9

00407025

BLADE

GEAR SET

1шт.

10

00400590

GASKET

2шт.

11

00404710

DOWEL

PIN

4шт.

12

00407027

HOUSING

1шт.

13

00408677

COVER

end

1шт.

14

00407029

CAPSCREW

4шт.

15

00400531

WASHER

4шт.

16

00407383

SEAL

4шт.

17

00400512

NIPPLE, LUBE

NIPPLE CHECK ASSEMBLY

2шт.

18

00404622

RETAINER

1шт.

21

00407384

SEAL

2шт.

22

00407365

SEAL KIT

1шт.

23

00408445

MOTOR, HYDRAULIC

ASSEMBLY

1шт.

Выбрано товаров: 21