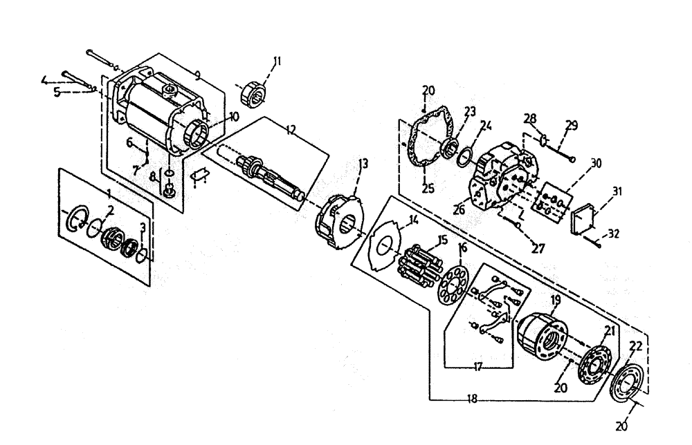
Запчасти Case IH 7000 (B02-80) - HYDRAULIC MOTOR (REAR WHEEL [LH] 7000), UP TO AND INCLUDING Hydraulic Components & Circuits

Схема запчастей Case IH 7000 - (B02-80) - HYDRAULIC MOTOR (REAR WHEEL [LH] 7000), UP TO AND INCLUDING Hydraulic Components & Circuits
31
20
25
11
29
9
22
18
7
5
14
12
19
20
13
3
32
23
2
24
7
8
6
21
26
16
27
1
10
30
15
20
28
4
FIT
1:1
100%

Артикул

Название

Примечание

Количество

1

00407127

SEAL

KIT (shaft)

1шт.

2

00407128

O-RING

1шт.

3

00407129

O-RING

1шт.

4

00407164

SCREW

2шт.

5

00407165

WASHER

2шт.

6

00407131

DOWEL

DOWEL

1шт.

7

00407132

PLUG

PLUG

1шт.

8

00407135

PLUG

o-ring

1шт.

9

00407167

WEAR PLATE

HOUSING ASSEMBLY

1шт.

10

00407168

BEARING, CUP

1шт.

11

00407170

BEARING SET

KIT

1шт.

12

00407169

SHAFT

1шт.

13

00407171

WEAR PLATE

swash

1шт.

14

00407172

WEAR PLATE

1шт.

15

00407174

PISTON

PISTON

9шт.

16

00407175

SLIPPER

PLATE

1шт.

17

00407176

HYD PUMP REPAIR KIT

holddown

1шт.

18

00407173

FIP KIT

ROTATING GROUP KIT

1шт.

19

00407177

CYLINDER

BARREL

1шт.

20

00407134

DOWEL

5шт.

21

00407178

PLATE

1шт.

22

00407179

HYDRAULIC MOTOR

PLATE

1шт.

23

00407181

COVER

BEARING KIT

1шт.

24

00407182

SHIM KIT

1шт.

25

00407180

GASKET

1шт.

26

00407183

HYDRAULIC MOTOR

END COVER

1шт.

27

00407186

BOLT

2шт.

28

00407184

STRAP

2шт.

29

00407185

BOLT

6шт.

30

00407157

SEAL KIT

1шт.

31

87230647

BLANKING PLATE

1шт.

32

00601499

BOLT

4шт.

33

00407082

HYDRAULIC MOTOR

ASSEMBLY

1шт.

Выбрано товаров: 33