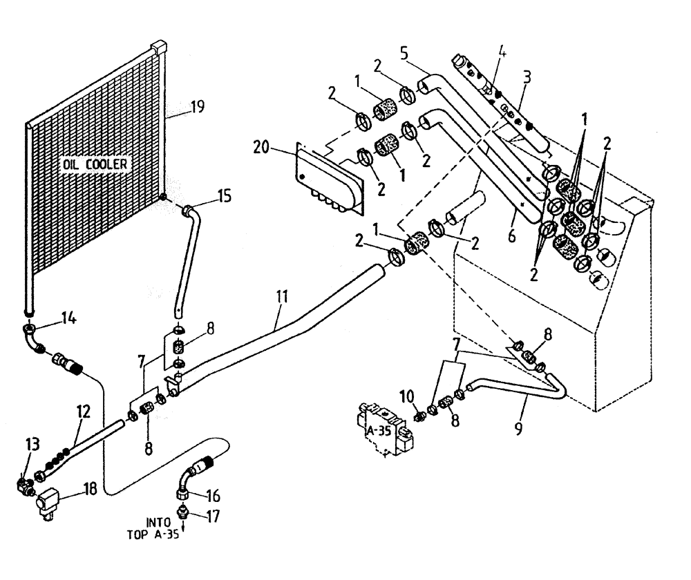
Запчасти Case IH 7000 (B05-10A) - HYDRAULIC SUCTION LINES (108/6CT), SERIAL #7908 AND ONWARDS Hydraulic Components & Circuits

Схема запчастей Case IH 7000 - (B05-10A) - HYDRAULIC SUCTION LINES (108/6CT), SERIAL #7908 AND ONWARDS Hydraulic Components & Circuits
15
20
2
2
2
2
2
1
12
11
1
2
8
2
9
7
5
3
13
4
16
2
7
19
1
6
14
17
8
8
8
10
1
18
FIT
1:1
100%

Артикул

Название

Примечание

Количество

1

86475800

HOSE,76.20 mm ID x 150.00 mm

6шт.

2

00135785

HOSE CLAMP

12шт.

3

87231730

VENT MANIFOLD

1шт.

4

HYDRAULIC RELIEF VALVE (Refer Figure B04-70)

1шт.

5

87157000

TUBE

1шт.

6

86766001

TUBE

TUBE

1шт.

7

00152128

HOSE CLAMP

8шт.

8

86312272

HOSE,38.10 mm ID x 110.00 mm

4шт.

9

87235280

TUBE,38.10 mm OD

1шт.

10

00408396

ADAPTER

HOSETAIL

1шт.

11

86995100

PANEL

MANIFOLD

1шт.

12

86994800

TUBE,38.10 mm OD x 612, 38 mm L

MANIFOLD

1шт.

13

86310816

HYD CONNECTOR

ELBOW

1шт.

14

00408451

HYD CONNECTOR

ELBOW

1шт.

15

87232400

TUBE,38 mm DIA x 543 mm L

1шт.

16

87224408

HOSE

1шт.

17

00400237

HYD CONNECTOR

NIPPLE

1шт.

18

HYDRAULIC RELIEF VALVE (Refer Figure B04-65)

1шт.

19

00180536

COOLER

oil

1шт.

20

87234729

TANK

1шт.

Выбрано товаров: 20