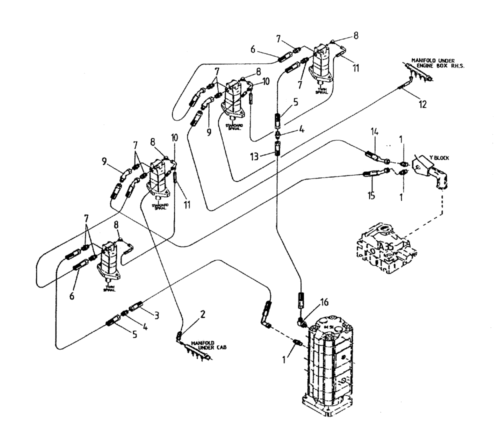
Запчасти Case IH 7000 (B05-90) - HYDRAULIC CIRCUIT, (CROPDIVIDER SPIRALS - LEG BASECUTTER) Hydraulic Components & Circuits

Схема запчастей Case IH 7000 - (B05-90) - HYDRAULIC CIRCUIT, (CROPDIVIDER SPIRALS - LEG BASECUTTER) Hydraulic Components & Circuits
7
7
13
7
7
10
6
8
5
1
6
14
8
1
7
15
10
8
4
11
4
9
8
5
1
3
2
9
12
11
16
FIT
1:1
100%

Артикул

Название

Примечание

Количество

1

00400231

HYD CONNECTOR

NIPPLE

3шт.

2

82725000

HOSE ASSY.,6.35mm ID x 2720mm L, SAE 100R17

1шт.

3

86310226

HOSE

1шт.

4

00400182

HYD CONNECTOR

NIPPLE

2шт.

5

86306950

HOSE

2шт.

6

82718600

HOSE ASSY.

2шт.

7

00400229

HYD CONNECTOR

NIPPLE

8шт.

8

00405242

HYD CONNECTOR

ELBOW

4шт.

9

00408418

HYD CONNECTOR

BEND

2шт.

10

87219738

ADAPTER

2шт.

11

87219801

HOSE

2шт.

12

82743400

HOSE

1шт.

13

87222496

HOSE

HOSE

1шт.

14

82744600

HOSE

1шт.

15

87235374

HOSE

1шт.

16

00400096

HYD CONNECTOR

ELBOW

1шт.

Выбрано товаров: 16