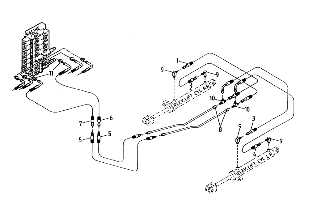
Запчасти Case IH 7000 (B06-05) - HYDRAULIC CIRCUIT (ELEVATOR LIFT), UP TO AND INCLUDING Hydraulic Components & Circuits

Схема запчастей Case IH 7000 - (B06-05) - HYDRAULIC CIRCUIT (ELEVATOR LIFT), UP TO AND INCLUDING Hydraulic Components & Circuits
7
3
9
10
5
1
9
2
9
8
10
9
6
11
5
FIT
1:1
100%

Артикул

Название

Примечание

Количество

1

87217475

HOSE

HOSE

1шт.

2

87227835

HOSE,6.30 mm ID x 570.00 mm, SAE 100R17 Class 25 Type 2

1шт.

3

82725000

HOSE ASSY.,6.35mm ID x 2720mm L, SAE 100R17

1шт.

4

82715700

HOSE

1шт.

5

87233578

HOSE

2шт.

6

87229421

HYDRAULIC HOSE

1шт.

7

87229422

HYDRAULIC HOSE

1шт.

8

87233527

TUBE

2шт.

9

00400189

HYD CONNECTOR

ELBOW

4шт.

10

00400207

TEE

2шт.

11

00400074

HYD CONNECTOR

NIPPLE

2шт.

Выбрано товаров: 0