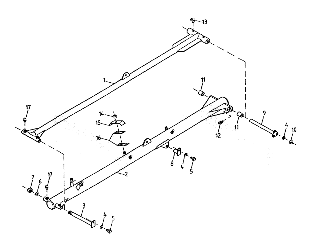
Запчасти Case IH 7000 (A02-00) - TOPPER ARMS Mainframe & Functioning Components

Схема запчастей Case IH 7000 - (A02-00) - TOPPER ARMS Mainframe & Functioning Components
4
17
16
2
3
11
13
17
12
5
10
6
4
1
11
14
7
15
4
5
8
9
FIT
1:1
100%

Артикул

Название

Примечание

Количество

1

86988200

POLE

ARM (upper)

1шт.

2

86988700

SUPPORTING ARM

lower)

1шт.

3

83048300

PIN,25.4mm OD x 313mm L

2шт.

4

00605827

WASHER

10шт.

5

00601499

BOLT

4шт.

6

00605814

WASHER

2шт.

7

00606020

LOCK NUT

2шт.

8

86788000

PIN,25.4mm OD x 75mm L

2шт.

9

86989400

PIN ASSY.

2шт.

10

00605795

NUT

6шт.

11

87227853

BUSHING,38.1mm ID x 44.45mm OD x 38.1mm L

2шт.

12

00138722

LUBE NIPPLE

grease

6шт.

13

00132755

LUBE NIPPLE

grease

2шт.

14

00605999

LOCK NUT

6шт.

15

82029900

BRACKET

CLAMP

6шт.

16

82029700

MOUNTING PARTS

RUBBER

12шт.

Выбрано товаров: 16