Запчасти Case IH 7000 (A02-10) - CROPDIVIDERS (FLORIDA OPTION) Mainframe & Functioning Components

Схема запчастей Case IH 7000 - (A02-10) - CROPDIVIDERS (FLORIDA OPTION) Mainframe & Functioning Components
24
19
3
18
16
15
14
17
22
14
15
21
29
20
8
20
27
11
7
2
13
12
11
5
34
4
6
14
26
18
8
31
11
17
13
16
12
23
10
1
10
32
14
13
11
9
25
19
28
13
12
9
10
11
10
11
30
13
11
33
11
10
11
7
FIT
1:1
100%

Артикул

Название

Примечание

Количество

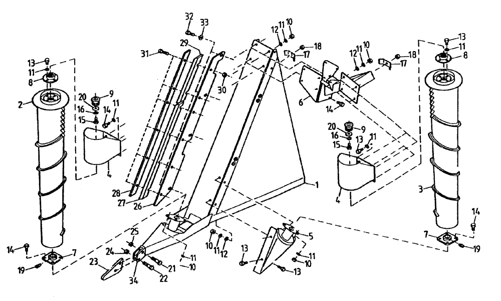
1

87237093

CROP DIVIDER

(LH)

1шт.

1

87237094

CROP DIVIDER

(RH)

1шт.

2

87236905

AUGER

(LH)

1шт.

2

87236963

AUGER

(RH)

1шт.

3

86967700

AUGER

(LH)

1шт.

3

86967600

AUGER

(RH)

1шт.

4

86955200

MOUNTING PARTS

BRACKET

4шт.

5

87214015

BRACKET

MOUNT (LH)

1шт.

5

87214016

MOUNTING PARTS

(RH)

1шт.

6

87237121

MOUNTING PARTS

BRACKET (LH)

1шт.

6

87237122

MOUNTING PARTS

BRACKET (RH)

1шт.

7

00140519

BEARING

AND HOUSING

4шт.

7

00140826

BEARING

(Triple Seal)

4шт.

8

86700800

ADAPTER

4шт.

9

86701200

GEAR

PINION

4шт.

10

00605797

NUT

48шт.

11

00605829

WASHER

68шт.

12

00605810

WASHER

28шт.

13

00601506

BOLT

32шт.

14

00601511

BOLT

32шт.

15

00601499

BOLT

4шт.

16

00605827

WASHER

4шт.

17

82029900

BRACKET

CLAMP

4шт.

18

00605999

LOCK NUT

4шт.

19

00138722

LUBE NIPPLE

grease

4шт.

20

86778400

WASHER,10.5mm ID x 38.5mm OD x 5.15mm Thk

WASHER

4шт.

21

00601531

BOLT

2шт.

22

00601541

BOLT

2шт.

23

87226686

BUCKET TOOTH POINT

2шт.

24

00606001

LOCK NUT

2шт.

25

00605997

LOCK NUT

2шт.

26

87229395

PLATE

MOUNT

2шт.

27

87214899

BLADE

2шт.

28

87229398

CLAMP

2шт.

29

87229401

BLADE

2шт.

30

NC112000

NUT

10шт.

31

FA112045

BOLT

6шт.

32

FA112035

BOLT

4шт.

33

WA120000

WASHER

6шт.

34

87226683

MOUNTING PARTS

2шт.

Выбрано товаров: 0