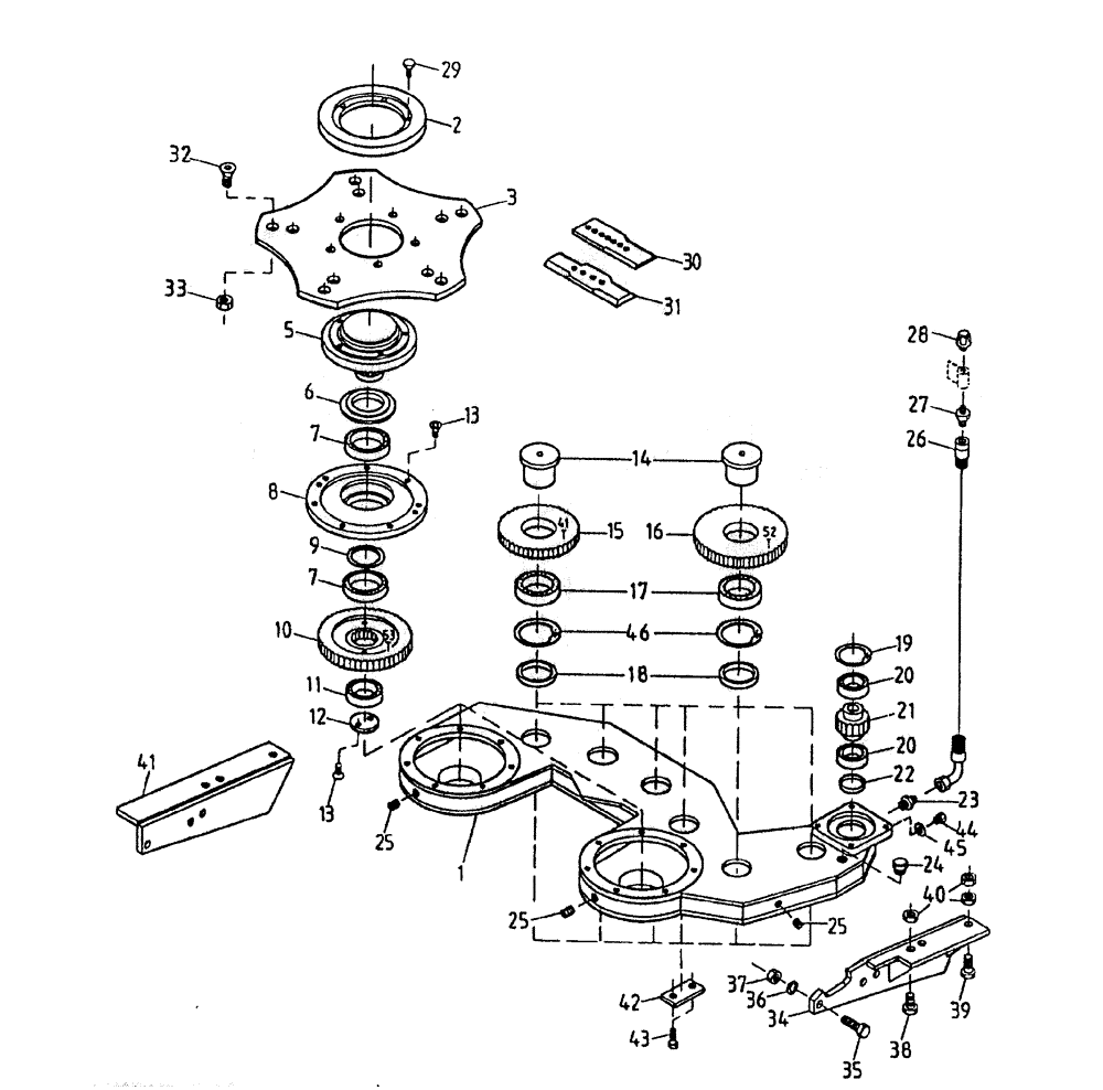
Запчасти Case IH 7000 (A02-25) - GEARBOX - UNDERSLUNG BASECUTTER (FLORIDA OPTION) Mainframe & Functioning Components

Схема запчастей Case IH 7000 - (A02-25) - GEARBOX - UNDERSLUNG BASECUTTER (FLORIDA OPTION) Mainframe & Functioning Components
35
39
38
1
25
13
18
34
20
45
37
46
36
19
23
15
28
8
7
29
7
5
11
25
6
42
32
24
9
16
33
21
43
17
13
20
2
25
26
27
30
31
41
3
10
40
14
12
22
44
FIT
1:1
100%

Артикул

Название

Примечание

Количество

1

87219345

ASSEMBLY

GEARBOX

1шт.

2

87214028

CLAMP

RING

2шт.

3

87231951

DISC

2шт.

5

87215082

SPLINED COUPLING

2шт.

6

00100733

OIL SEAL

2шт.

7

00146552

BEARING

4шт.

8

87214115

COVER ASSY

2шт.

9

87214160

MOUNTING PARTS

SPACER (5.87 mm)

2шт.

9

87214161

MOUNTING PARTS

SPACER (5.77 mm)

2шт.

9

87214162

MOUNTING PARTS

SPACER (5.67 mm)

2шт.

10

87191300

DRIVEN GEAR

(53 Tooth)

2шт.

11

00140224

BALL BEARING

2шт.

12

87190600

PLATE

RETAINER

2шт.

13

00605426

SCREW

18шт.

14

87222524

PIN

(Machined)

6шт.

14

87222564

PIN

(Unmachined)

6шт.

15

87191100

IDLER GEAR

(41 Tooth)

5шт.

16

87191200

IDLER GEAR

(52 Tooth)

1шт.

17

00140427

BEARING

6шт.

18

87191700

SPACER

6шт.

19

CI085000

CIRCLIP

1шт.

20

00144062

BALL BEARING

2шт.

21

87191000

GEAR

PINION

1шт.

22

00132515

PLUG

1шт.

23

00400162

HYD CONNECTOR

NIPPLE

1шт.

24

00400106

HYD CONNECTOR

PLUG

1шт.

25

00605620

PLUG

3шт.

26

86327400

HOSE ASSY.

1шт.

27

00400160

HYD CONNECTOR

NIPPLE

1шт.

28

00407924

FILLER CAP

BREATHER

1шт.

29

00608157

BOLT

10шт.

30

86902700

BLADE,265mm L x 90mm W x 4mm Thk

10шт.

31

87229168

BLADE

(Optional)

10шт.

32

00608155

BOLT

20шт.

33

00605797

NUT

20шт.

34

87213995

MOUNTING PARTS

BRACKET (LH)

1шт.

35

00601536

BOLT

6шт.

36

00605831

WASHER

6шт.

37

00605798

NUT

6шт.

38

00607059

BOLT

2шт.

39

00606596

BOLT

BOLT

4шт.

40

00606250

NUT

10шт.

41

87213994

MOUNTING PARTS

BRACKET (RH)

1шт.

42

87213745

PLATE

6шт.

43

00601499

BOLT

12шт.

44

00400106

HYD CONNECTOR

PLUG

1шт.

45

00133193

WASHER

1шт.

46

CI100000

CIRCLIP

6шт.

Выбрано товаров: 0