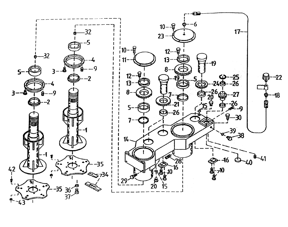
Запчасти Case IH 7000 (A02-30) - GEARBOX - LEG BASECUTTER (FLORIDA OPTION) Mainframe & Functioning Components

Схема запчастей Case IH 7000 - (A02-30) - GEARBOX - LEG BASECUTTER (FLORIDA OPTION) Mainframe & Functioning Components
30
3
32
15
13
27
20
38
7
34
19
7
9
20
19
5
43
42
1
26
26
12
5
17
24
25
16
22
9
23
10
4
4
36
9
6
1
16
5
37
10
11
13
41
2
15
32
26
5
8
12
18
10
21
14
8
35
29
39
28
10
2
26
3
40
35
FIT
1:1
100%

Артикул

Название

Примечание

Количество

1

87236455

DRIVEN SHAFT

BASECUTTER LEG (Complete)

2шт.

2

00100811

OIL SEAL

2шт.

3

FA110030

BOLT

12шт.

4

87228046

SEAL

HOUSING

2шт.

5

00146616

BEARING

4шт.

6

00400162

HYD CONNECTOR

NIPPLE

1шт.

7

00100796

OIL SEAL

2шт.

8

87223442

GEAR

(Output)

2шт.

9

00605618

PLUG

3шт.

10

FA110025

BOLT

18шт.

11

87223566

COVER PLATE

(RH)

1шт.

12

00601495

BOLT

4шт.

13

83001500

LOCK NUT

2шт.

14

87236434

GEARBOX

(Machined)

1шт.

15

00100021

O-RING

2шт.

16

87213745

PLATE

RETAINER

3шт.

17

87229285

HOSE

1шт.

18

00400160

HYD CONNECTOR

NIPPLE

1шт.

19

87223565

PIN,45mm OD x 110.5mm L

3шт.

20

86377100

PLUG

2шт.

21

87191200

IDLER GEAR

2шт.

22

00407924

FILLER CAP

BREATHER

1шт.

23

87223567

COVER PLATE

(LH)

1шт.

24

87191100

IDLER GEAR

1шт.

25

CI100000

CIRCLIP

1шт.

26

00140427

BEARING

5шт.

27

87223444

GEAR

(Input)

1шт.

28

00154525

PLUG

2шт.

29

FA116045

BOLT

8шт.

30

FA112035

BOLT

4шт.

32

87228069

PLUG

PLUG

2шт.

34

86902700

BLADE,265mm L x 90mm W x 4mm Thk

(Standard)

10шт.

34

87229168

BLADE

(Double Edged)

10шт.

35

87239448

DISC

(Flat)

2шт.

36

WB160000

SPRING WASHER

10шт.

37

FA116030

BOLT

10шт.

38

00400106

HYD CONNECTOR

PLUG

1шт.

39

00133193

WASHER

1шт.

40

00132515

PLUG

1шт.

41

00605619

PLUG

2шт.

42

00608155

BOLT

20шт.

43

00605797

NUT

20шт.

Выбрано товаров: 42