Запчасти Case IH 7000 (A03-00) - EXTRACTOR FANS (PRIMARY/SECONDARY), UP TO AND INCLUDING SERIAL #7907 Mainframe & Functioning Components

Схема запчастей Case IH 7000 - (A03-00) - EXTRACTOR FANS (PRIMARY/SECONDARY), UP TO AND INCLUDING SERIAL #7907 Mainframe & Functioning Components
12
13
3
8
9
4
6
5
1
5
10
15
14
11
7
2
FIT
1:1
100%

Артикул

Название

Примечание

Количество

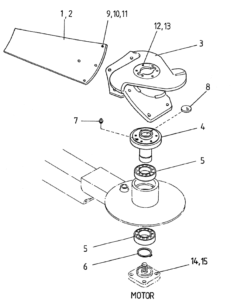
1

87231814

SET OF BLADES

(primary swinging knife)

1шт.

1

87231808

BLADE

SET (primary rotary chopper)

1шт.

2

87231816

ASSEMBLY

BLADE SET (secondary swinging knife)

1шт.

2

87231810

SET OF BLADES

(secondary rotary chopper)

1шт.

3

87235037

HUB

1шт.

4

86304126

SPLINED COUPLING

1шт.

5

00140309

BALL BEARING

2шт.

6

CE055000

CIRCLIP

1шт.

7

00153751

LUBE NIPPLE

grease

1шт.

8

00132819

PLUG

1шт.

9

00601579

BOLT

12шт.

10

00605829

WASHER

12шт.

11

00605803

NUT

12шт.

Выбрано товаров: 0