Запчасти Case IH 7000 (A03-00A) - EXTRACTOR FANS (PRIMARY/SECONDARY), SERIAL #7908 AND ONWARDS Mainframe & Functioning Components

Схема запчастей Case IH 7000 - (A03-00A) - EXTRACTOR FANS (PRIMARY/SECONDARY), SERIAL #7908 AND ONWARDS Mainframe & Functioning Components
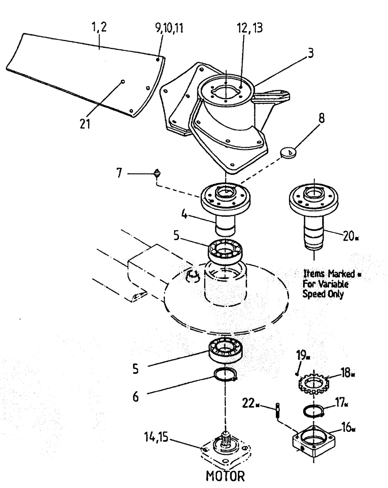
13
11
19
3
15
5
17
22
4
21
16
20
8
2
18
9
5
12
6
1
14
10
7
FIT
1:1
100%

Артикул

Название

Примечание

Количество

1

87231814

SET OF BLADES

(primary swinging knife)

1шт.

1

87231808

BLADE

(primary rotary chopper)

1шт.

2

87231816

ASSEMBLY

BLADE SET (secondary swinging knife)

1шт.

2

87231810

SET OF BLADES

(secondary rotary chopper)

1шт.

3

87236407

HUB

HUB

1шт.

4

86304126

SPLINED COUPLING

(fixed speed)

1шт.

5

00140309

BALL BEARING

2шт.

6

CE055000

CIRCLIP

1шт.

7

00153751

LUBE NIPPLE

grease

1шт.

8

00132819

PLUG

1шт.

9

00601584

BOLT

9шт.

10

00605829

WASHER

12шт.

11

00605803

NUT

12шт.

12

00601499

BOLT

6шт.

13

00605827

WASHER

6шт.

14

FA112040

BOLT

(fixed speed)

4шт.

15

00605829

WASHER

4шт.

16

87236400

ADAPTER

(variable speed)

1шт.

17

CE050000

CIRCLIP

(variable speed)

1шт.

18

87236406

TACHOMETER

TACHO PICKUP (variable speed)

1шт.

19

FE106010

SCREW,M6 x 10mm

(variable speed)

2шт.

20

87236402

COUPLING

(variable speed)

1шт.

21

00601579

BOLT

3шт.

22

87236401

STUD

STUD (variable speed)

4шт.

22

NA112000

NUT

(variable speed)

4шт.

Выбрано товаров: 0