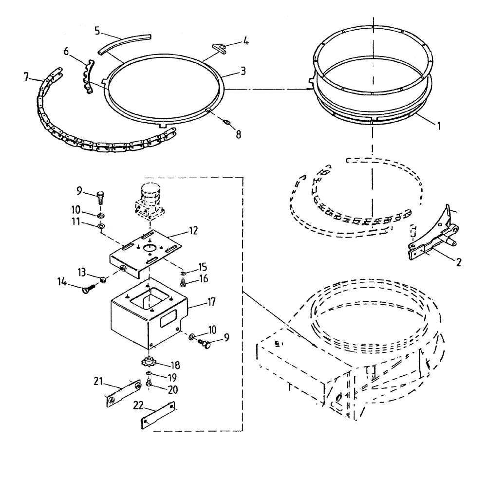
Запчасти Case IH 7000 (A03-27) - PRIMARY EXTRACTOR HOOD HYDRAULIC SLEW, SERIAL #7908 AND ONWARDS Mainframe & Functioning Components

Схема запчастей Case IH 7000 - (A03-27) - PRIMARY EXTRACTOR HOOD HYDRAULIC SLEW, SERIAL #7908 AND ONWARDS Mainframe & Functioning Components
10
16
12
6
8
1
5
2
11
9
19
7
13
21
15
18
4
9
17
20
22
3
14
10
FIT
1:1
100%

Артикул

Название

Примечание

Количество

1

87236929

BODY

BARREL (welded assembly)

1шт.

2

87236919

ASSEMBLY

LINK (LH)

1шт.

2

87236918

CONNECTING LINK

(RH)

1шт.

3

87236930

RING

RING (welded assembly)

1шт.

4

87237529

CHAIN (AG)

HOOK

2шт.

5

87226893

GUIDE

6шт.

6

87226894

SPROCKET ASSY.

segment

5шт.

7

87227097

CHAIN

1шт.

8

00153751

LUBE NIPPLE

grease

2шт.

9

FA112025

BOLT

8шт.

10

WB120000

WASHER

8шт.

11

WA120000

WASHER

4шт.

12

87236837

ADJUSTING PLATE

1шт.

13

NA112000

NUT

1шт.

14

87236920

SCREW,M12 x 1.75 x 72mm

1шт.

15

00605827

WASHER

4шт.

16

00601495

BOLT

4шт.

17

87236841

MOUNTING PARTS

BRACKET

1шт.

18

87150500

SPROCKET ASSY.

1шт.

19

00605825

WASHER

1шт.

20

00601497

BOLT

1шт.

21

87236917

MOUNTING PARTS

(RH)

1шт.

22

87236915

MOUNTING PARTS

(LH)

1шт.

Выбрано товаров: 23