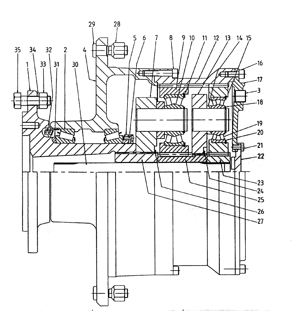
Запчасти Case IH 7000 (A04-10) - EPICYCLIC HUB (7000) *SERIES 40 35:1, UP TO AND INCLUDING Mainframe & Functioning Components

Схема запчастей Case IH 7000 - (A04-10) - EPICYCLIC HUB (7000) *SERIES 40 35:1, UP TO AND INCLUDING Mainframe & Functioning Components
11
5
28
31
8
3
18
9
34
12
22
4
30
16
17
25
13
6
35
32
23
2
27
21
1
24
10
26
7
14
29
19
33
15
20
FIT
1:1
100%

Артикул

Название

Примечание

Количество

1

87227873

STUB AXLE/STEERING S

1шт.

2

00146555

BEARING

2шт.

3

00605620

PLUG

1шт.

4

87214944

HUB

1шт.

5

86772200

LOCK NUT

lock

1шт.

6

00605356

SCREW

2шт.

7

87222793

HUB CARRIER

secondary

1шт.

8

FC110050

SCREW,M10 x 1.5 x 50mm

12шт.

9

87215160

PLANETARY GEAR,38T

GEAR CARRIER planet (secondary)

3шт.

10

00140515

BEARING

3шт.

11

CI090000

CIRCLIP

3шт.

12

87233324

RING GEAR

1шт.

13

87215169

PLANETARY GEAR

PRIMARY CARRIER

1шт.

14

87215157

SPACER

3шт.

15

87215720

GEAR

PLANET GEAR (Primary)

1шт.

16

FC110020

SCREW,M10 x 1.5 x 20mm

12шт.

17

87216601

COVER

1шт.

18

CE040000

CIRCLIP

6шт.

19

00140516

BEARING

3шт.

20

CI080000

CIRCLIP

3шт.

21

FA108016

BOLT

4шт.

22

87215722

THRUST PLATE

PAD

1шт.

23

87215721

PINION

(input)

1шт.

24

CE063000

CIRCLIP

1шт.

25

87215159

PINION CARRIER ,19T

GEAR CARRIER COUPLING

1шт.

26

CE068000

CIRCLIP

1шт.

27

87215712

COUPLING,21T

1шт.

28

00607915

NUT

wheel

12шт.

29

00608020

STUD

12шт.

30

87215723

CLUTCH INPUT SHAFT

(input)

1шт.

31

87227869

SPACER

1шт.

32

00100798

OIL SEAL

1шт.

33

00405467

NUT

8шт.

34

00607766

ASSEMBLY

WASHER

8шт.

35

00135037

BOLT

8шт.

36

87224393

HUB ASSY.

ASSEMBLY

1шт.

Выбрано товаров: 36