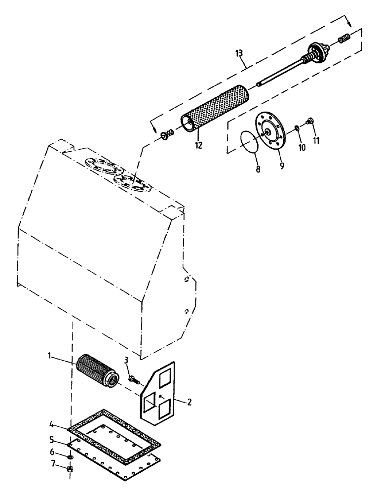
Запчасти Case IH 7000 (B08-05) - OIL FILTERS AND STRAINERS Hydraulic Components & Circuits

Схема запчастей Case IH 7000 - (B08-05) - OIL FILTERS AND STRAINERS Hydraulic Components & Circuits
4
8
11
2
13
5
12
10
7
9
6
1
3
FIT
1:1
100%

Артикул

Название

Примечание

Количество

1

00400057

HYDRAULIC OIL FILTER

STRAINER

3шт.

2

87230726

HOLDER

PLATE

1шт.

3

87232852

ASSEMBLY

BOLT

1шт.

4

86731800

GASKET,6mm Thk

1шт.

5

86729700

COVER ASSY

COVER

1шт.

6

00605827

WASHER

22шт.

7

00605795

NUT

22шт.

8

00100139

O-RING

2шт.

9

87231716

COVER ASSY

COVER

2шт.

10

WB080000

WASHER

16шт.

11

FA108016

BOLT

16шт.

12

00408454

HYDRAULIC OIL FILTER

ELEMENT

2шт.

13

00408453

ELEMENT

OIL FILTER ASSEMBLY

2шт.

13

00408861

SEAL ASSY.

SEAL

1шт.

13

00408862

O-RING

1шт.

Выбрано товаров: 15