Запчасти Case IH 7000 (A03-05) - VERTICAL ARM EXTRACTOR FAN Mainframe & Functioning Components

Схема запчастей Case IH 7000 - (A03-05) - VERTICAL ARM EXTRACTOR FAN Mainframe & Functioning Components
22
21
19
18
11
23
10
1
7
4
8
25
12
27
17
5
29
3
15
26
14
16
28
9
2
20
6
13
24
6
FIT
1:1
100%

Артикул

Название

Примечание

Количество

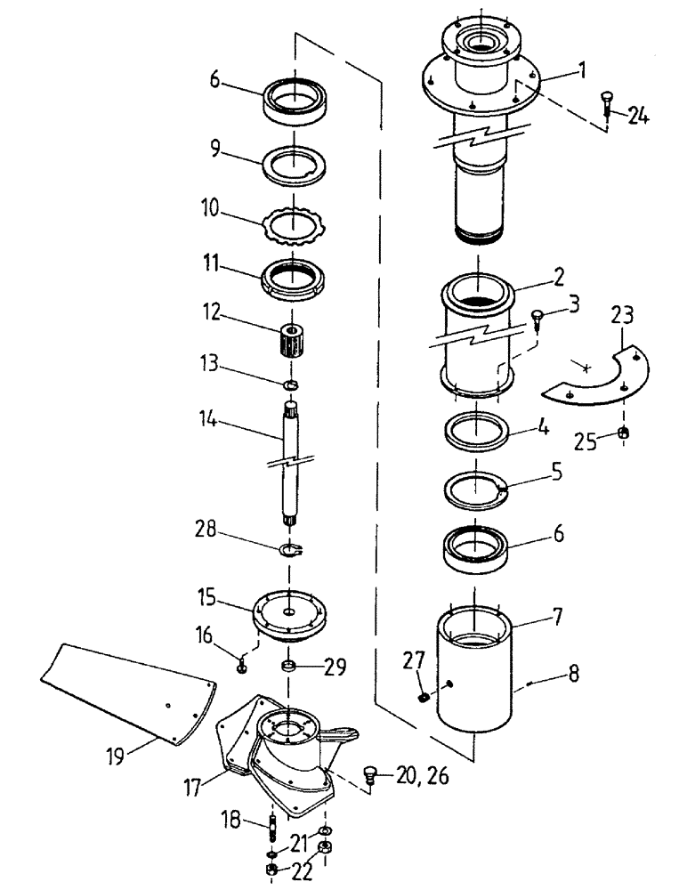
1

87230162

MOUNTING PARTS

MOUNT

1шт.

2

87235737

SLEEVE

1шт.

3

FC108025

SCREW,M8 x 1.25 x 25mm

4шт.

4

00100824

OIL SEAL

SEAL

1шт.

5

CI140000

CIRCLIP

1шт.

6

00146532

BEARING

2шт.

7

87230229

BEARING HOUSING,124 mm ID x 170 mm OD x 235 mm

1шт.

8

FE108012

SCREW,M8 x 1.25 x 12mm

1шт.

9

87230348

LOCK WASHER

1шт.

10

00146523

WASHER

TAB WASHER

1шт.

11

00146524

LOCK NUT

NUT

1шт.

12

87232884

SPLINED COUPLING,14T Internal / 16T External

COUPLING

1шт.

13

CI028000

CIRCLIP

1шт.

14

87230156

DRIVE SHAFT

SHAFT

1шт.

15

87239708

FLANGE COVER CAP

END CAP

1шт.

16

FM108025

BOLT

8шт.

17

87240269

HUB

1шт.

18

87236252

STUD

6шт.

19

87231808

BLADE

SET

1шт.

20

FM112030

BOLT

9шт.

21

WB120000

WASHER

18шт.

22

NA112000

NUT

18шт.

23

87236276

PLATE

2шт.

24

FM116050

BOLT

6шт.

25

NJ116000

NUT

6шт.

26

FM112025

BOLT

3шт.

27

00605620

PLUG

1шт.

28

CE032000

CIRCLIP

1шт.

29

00180467

PLUG

1шт.

Выбрано товаров: 29