Запчасти Case IH 7000 (B01-50) - HYDRAULIC CYLINDER, ELEVATOR LIFT Hydraulic Components & Circuits

Схема запчастей Case IH 7000 - (B01-50) - HYDRAULIC CYLINDER, ELEVATOR LIFT Hydraulic Components & Circuits
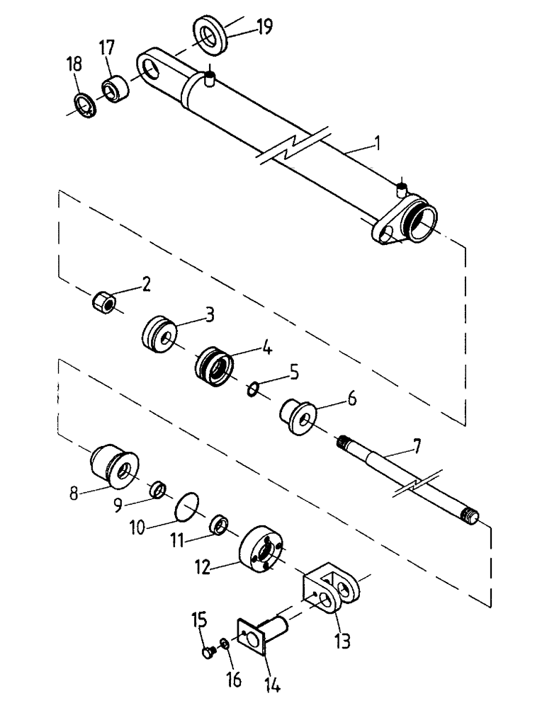
14
10
9
13
7
12
17
4
8
3
1
11
16
18
6
15
5
19
2
FIT
1:1
100%

Артикул

Название

Примечание

Количество

1

87220021

CYLINDER,63.5mm Bore Dia

BARREL (LH)

1шт.

1

87220022

CYLINDER,63.5mm Bore Dia

BARREL (RH)

1шт.

2

00607933

LOCK NUT

NUT

1шт.

3

86787900

PISTON

RETAINER

1шт.

4

00100716

OIL SEAL

SEAL

1шт.

5

00100019

O-RING

1шт.

6

86787800

PISTON

1шт.

7

87236364

SHAFT

ROD

1шт.

8

87214803

CYLINDER HEAD

HEAD

1шт.

9

00100758

OIL SEAL

SEAL

1шт.

10

00100106

O-RING

1шт.

11

00100675

SEAL

WIPER

1шт.

12

86930200

NUT

1шт.

13

87244758

CYLINDER

CLEVIS

1шт.

14

87237362

PIN,25mm OD x 75mm L

1шт.

15

00601495

BOLT

1шт.

16

00605827

WASHER

1шт.

17

00141400

BEARING

1шт.

18

CI047000

CIRCLIP

1шт.

19

87231581

SPACER

1шт.

21

87214805

SEAL KIT

1шт.

22

87244776

CYLINDER,Double Acting, 31.75mm Rod, 914mm Stroke

ASSEMBLY (LH)

1шт.

23

87244777

CYLINDER,Double Acting, 31.75mm Rod, 914mm Stroke

ASSEMBLY (RH)

1шт.

Выбрано товаров: 23