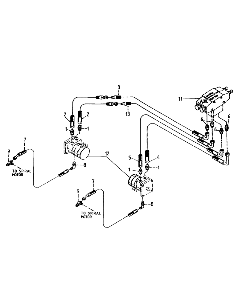
Запчасти Case IH 7000 (B05-95) - HYDRAULIC CIRCUIT, SIDETRIM KNIVES Hydraulic Components & Circuits

Схема запчастей Case IH 7000 - (B05-95) - HYDRAULIC CIRCUIT, SIDETRIM KNIVES Hydraulic Components & Circuits
6
9
8
7
3
1
7
20
11
4
1
2
2
8
6
1
5
6
1
12
9
13
FIT
1:1
100%

Артикул

Название

Примечание

Количество

1

00400228

HYD CONNECTOR

NIPPLE

4шт.

2

86308511

HOSE

2шт.

3

87236691

HOSE

1шт.

4

87220515

HOSE

HYDRAULIC HOSE

1шт.

5

82732900

HOSE ASSY.

HOSE

1шт.

6

00400230

HYD CONNECTOR

NIPPLE

4шт.

7

87227380

HOSE

HYDRAULIC HOSE

2шт.

8

00405242

HYD CONNECTOR

ELBOW

2шт.

9

00403925

TEE

2шт.

11

HYDRAULIC VALVE (Refer to Page B04-00-A)

1шт.

12

HYDRAULIC VALVE (Refer to Page B02-10-A)

1шт.

13

87244033

HOSE

1шт.

Выбрано товаров: 12