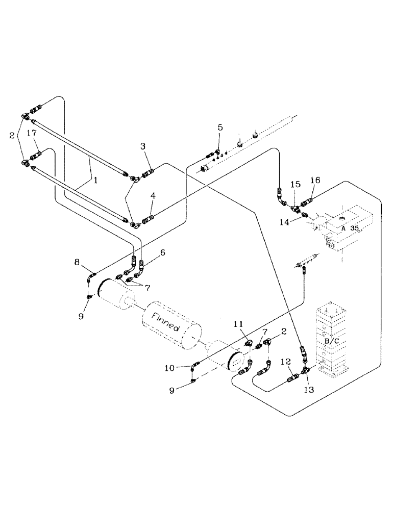
Запчасти Case IH 7000 (B05-56) - HYDRAULIC CIRCUIT, FINNED ROLLER, LEG BASECUTTER, FLORIDA OPTION Hydraulic Components & Circuits

Схема запчастей Case IH 7000 - (B05-56) - HYDRAULIC CIRCUIT, FINNED ROLLER, LEG BASECUTTER, FLORIDA OPTION Hydraulic Components & Circuits
6
16
7
14
7
8
15
10
2
35
5
9
13
12
2
4
17
9
11
1
3
FIT
1:1
100%

Артикул

Название

Примечание

Количество

1

87248207

TUBE,16 mm OD x 1000 mm L

2шт.

2

00402451

HYD CONNECTOR

ELBOW

5шт.

3

86310712

HOSE ASSY.

HOSE

1шт.

4

87216993

HOSE

1шт.

5

00402879

HYD CONNECTOR

ELBOW

1шт.

6

86308523

HOSE ASSY.

HOSE

1шт.

7

00400228

HYD CONNECTOR

NIPPLE

3шт.

8

86310227

HOSE ASSY.

HOSE

1шт.

9

00405242

HYD CONNECTOR

ELBOW

2шт.

10

81678000

HOSE ASSY.

HOSE

1шт.

11

00400242

HYD CONNECTOR

ELBOW

1шт.

12

86300987

HOSE ASSY.

HOSE

1шт.

13

00409237

TEE

1шт.

14

00400231

HYD CONNECTOR

NIPPLE

1шт.

15

87217877

TEE

1шт.

16

86314381

HOSE

1шт.

17

87250085

HOSE

1шт.

Выбрано товаров: 17