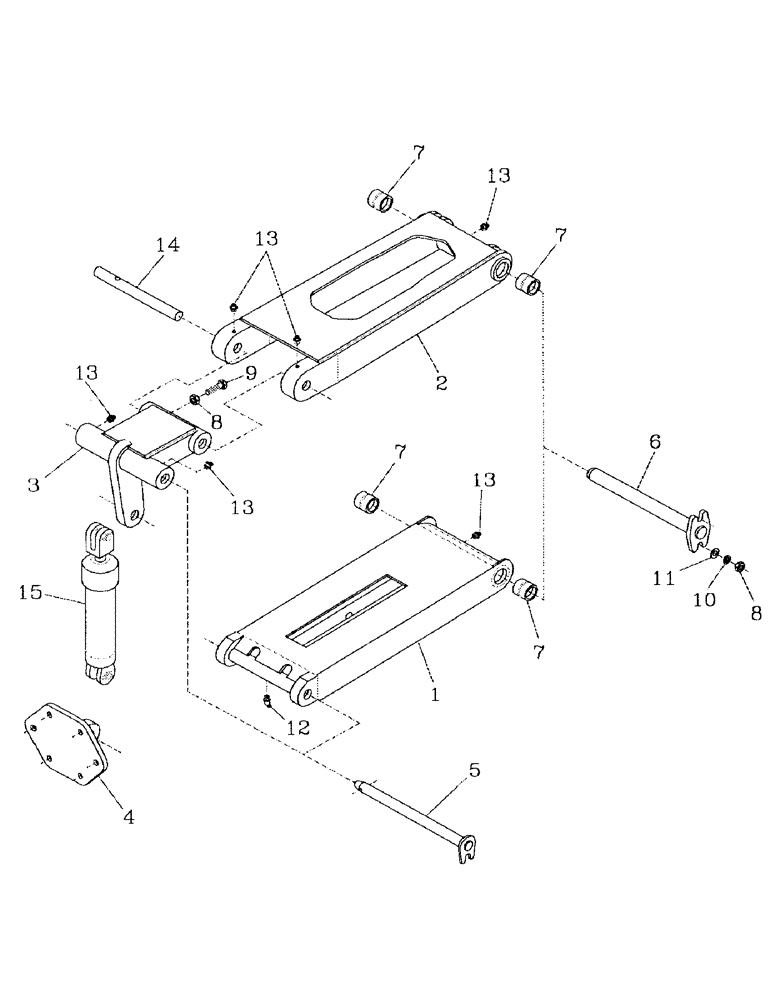
Запчасти Case IH 7000 (A03-03) - CROPDIVIDER LIFT ARMS, TILT OPTION Mainframe & Functioning Components

Схема запчастей Case IH 7000 - (A03-03) - CROPDIVIDER LIFT ARMS, TILT OPTION Mainframe & Functioning Components
13
5
10
15
1
7
9
14
12
13
11
2
8
13
7
3
13
6
7
7
4
13
8
FIT
1:1
100%

Артикул

Название

Примечание

Количество

1

87237005

SUPPORTING ARM

ARM (LOWER)

2шт.

2

87251379

SUPPORTING ARM

ARM (UPPER)

2шт.

3

87251386

FRAME

BELLCRANK

2шт.

4

87254271

BRACKET

CYLINDER MOUNT

2шт.

5

87239943

PIN

4шт.

6

87237086

PIN,25.4mm OD x 340mm L

4шт.

7

00141651

BUSHING

BUSH

8шт.

8

NA110000

NUT

10шт.

9

FA110030

BOLT

2шт.

10

WB100000

WASHER

8шт.

11

WA100000

WASHER

8шт.

12

00180940

LUBE NIPPLE

GREASE NIPPLE

2шт.

13

00138722

LUBE NIPPLE

GREASE NIPPLE

12шт.

14

87251397

PIN

2шт.

15

00409866

CYLINDER

2шт.

Выбрано товаров: 15