Запчасти Case IH 7000 (A12.01[01]) - Air Conditioner (50) - CAB CLIMATE CONTROL

Схема запчастей Case IH 7000 - (A12.01[01]) - Air Conditioner (50) - CAB CLIMATE CONTROL
2
4
23
3
30
20
24
7
22
19
17
5
28
6
25
26
21
27
25
16
29
15
5
1
24
6
FIT
1:1
100%

Артикул

Название

Примечание

Количество

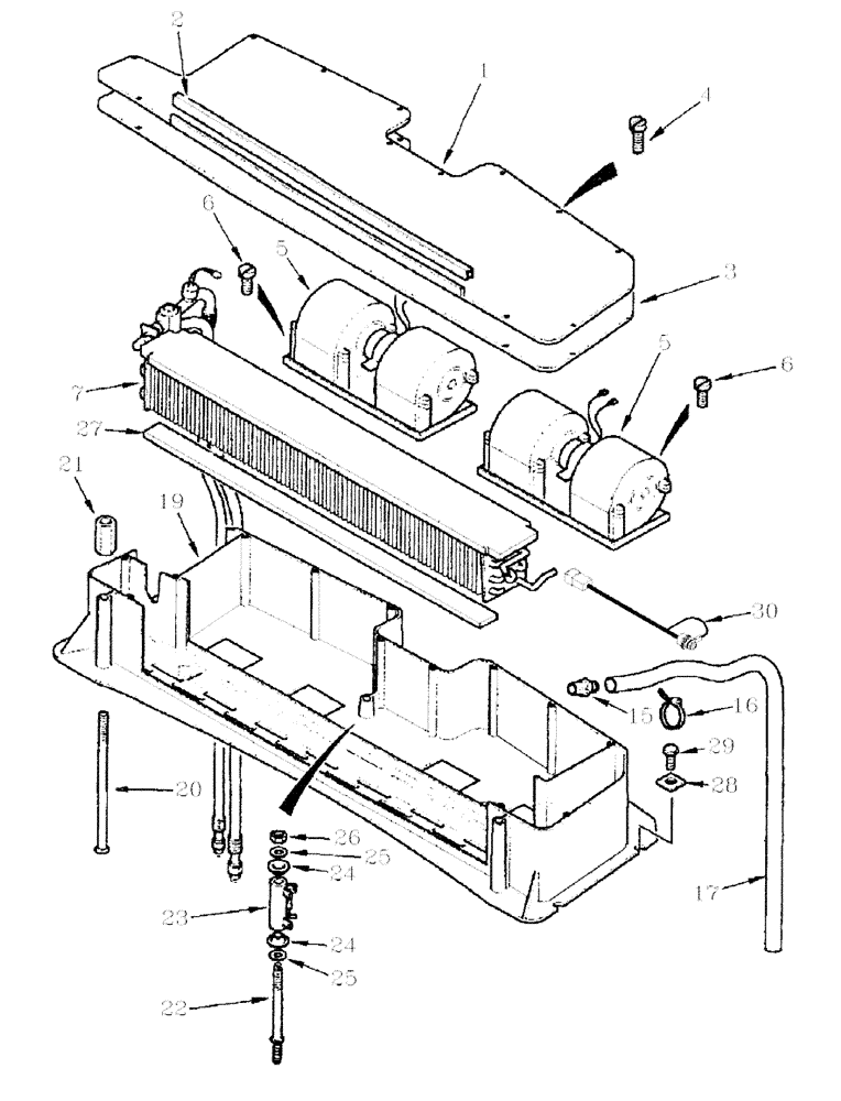
1

222386A2

COVER ASSY

1шт.

2

236759A2

WINDGUARD,927.1mm L

1шт.

3

222494A2

GASKET,3.2mm Thk

1шт.

4

840-2410

SCREW,Pozidrive, Pan HD, M4 x 10mm, Cl 4.8

13шт.

5

394064A1

BLOWER

ASSY

2шт.

6

758-1

SELF-TAP SCREW,Pan Hd, M4.2 x 16

12шт.

7

251389A1

RADIATOR

1шт.

15

1250522C3

FITTING

2шт.

16

22-824

CABLE TIE,3/16" x 7 1/4"

CABLE STRAP

3шт.

17

222647A1

HOSE,12.95 mm ID x 2880.00 mm

2шт.

19

181061A4

CASE

1шт.

20

222384A2

CARRIAGE BOLT

2шт.

21

307164A1

SPACER

2шт.

22

236817A1

STUD

1шт.

23

394065A1

RESISTOR

1шт.

24

307155A1

WASHER

2шт.

25

307154A1

WASHER

2шт.

26

829-1406

NUT,Hex, M6 x 1, Cl 10.9

1шт.

27

255538A1

GASKET

1шт.

28

3402978R1

PLATE

6шт.

29

780-14625

SELF-TAP SCREW,Hex Hd, M6.3 x 25

6шт.

30

410496A1

DIODE

DIODE STUD MOUNT

1шт.

Выбрано товаров: 22