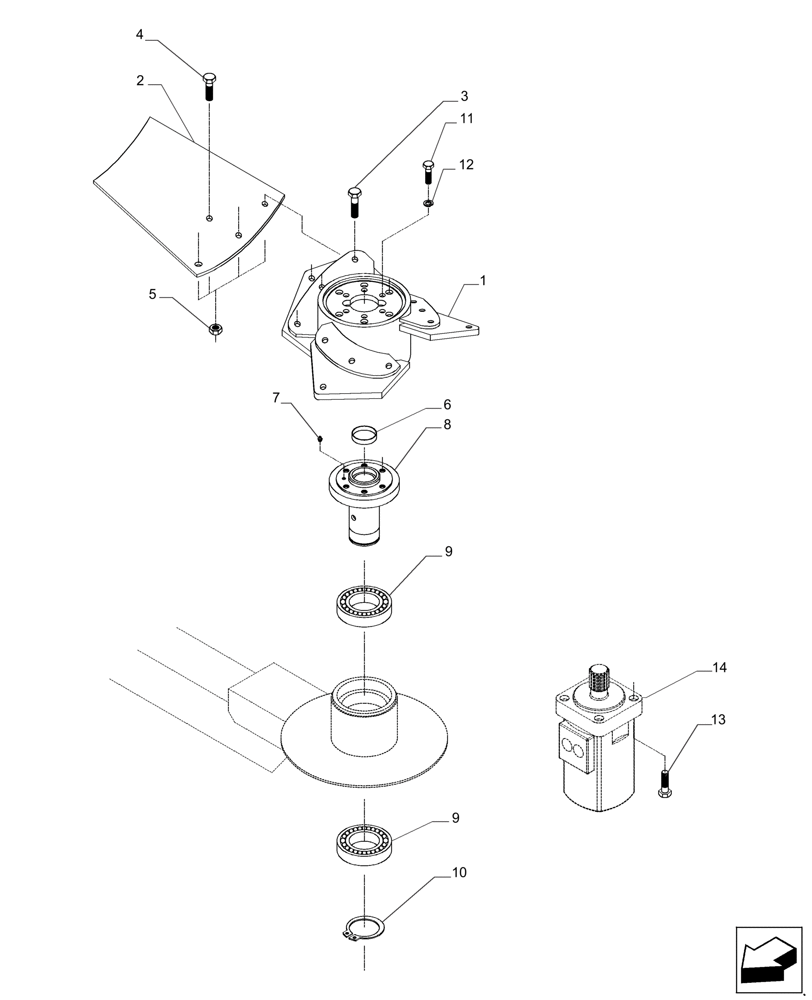
Запчасти Case IH 7000 (A08.05[01]) - Secondary Extractor Fan (80) - CROP STORAGE/UNLOADING

Схема запчастей Case IH 7000 - (A08.05[01]) - Secondary Extractor Fan (80) - CROP STORAGE/UNLOADING
11
9
5
8
12
10
1
2
6
3
9
7
13
14
4
FIT
1:1
100%

Артикул

Название

Примечание

Количество

1

87240269

HUB

1шт.

2

87231810

SET OF BLADES

1шт.

2

47727101

SET OF BLADES

Optional, Without Paint

1шт.

3

601584

9шт.

4

601579

BOLT

3шт.

5

605803

SHAFT

12шт.

6

132819

1шт.

7

153751

NIPPLE

1шт.

8

86304126

SPLINED COUPLING

1шт.

9

140309

2шт.

10

CE055000

CIRCLIP

1шт.

11

601499

BRACKET

SPARE PART

6шт.

12

605827

6шт.

13

601511

4шт.

14

REF

INSTRUCTION

MOTOR, HYDRAULIC

1шт.

SEE PAG. B03.12

1шт.

Выбрано товаров: 16