Запчасти Case IH 7700 (B06[03]) - HYDRAULIC SUCTION LINES {Pump} Hydraulic Components & Circuits

Схема запчастей Case IH 7700 - (B06[03]) - HYDRAULIC SUCTION LINES {Pump} Hydraulic Components & Circuits
2
3
6
23
4
11
14
19
13
15
10
3
2
17
23
22
16
3
7
8
20
12
1
8
23
5
17
2
16
9
23
3
21
3
18
2
24
2
2
FIT
1:1
100%

Артикул

Название

Примечание

Количество

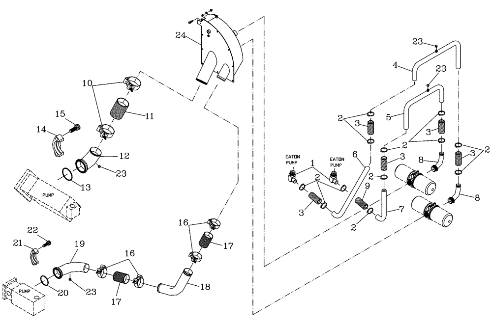
1

00409553

HYD CONNECTOR

Elbow

1шт.

2

446615A1

CLAMP

12шт.

3

87222587

HOSE,38.10 mm ID x 130.00 mm

5шт.

4

87256532

TUBE

1шт.

5

87256534

TUBE

1шт.

6

87256538

TUBE,38.10 mm OD x 435 mm L

1шт.

7

379118A1

TUBE,200, 30 mm Length

1шт.

8

87247662

TUBE,1.50" OD

2шт.

9

83123200

HOSE

1шт.

10

446618A1

HOSE CLAMP

2шт.

11

378026A1

HOSE,101.60 mm ID x 150.00 mm

1шт.

12

87256456

TUBE

1шт.

13

00100123

O-RING

1шт.

14

00410302

CLAMP

Pair

1шт.

15

00604581

SCREW

SCREW

4шт.

16

446616A1

CLAMP

4шт.

17

86475900

HOSE,76.20 mm ID x 110.00 mm, SAE J20

2шт.

18

87409727

TUBE,76.2 mm OD x 200, 50 mm L

TUBE

1шт.

19

396871A1

TUBE

TUBE

1шт.

20

00408918

O-RING

1шт.

21

00408917

SPECIAL CLAMP

Pair

1шт.

22

00604580

CAPSCREW

4шт.

23

00400143

HYD CONNECTOR

Cap Nut

4шт.

24

87405674

MANIFOLD

MANIFOLD

1шт.

Выбрано товаров: 24