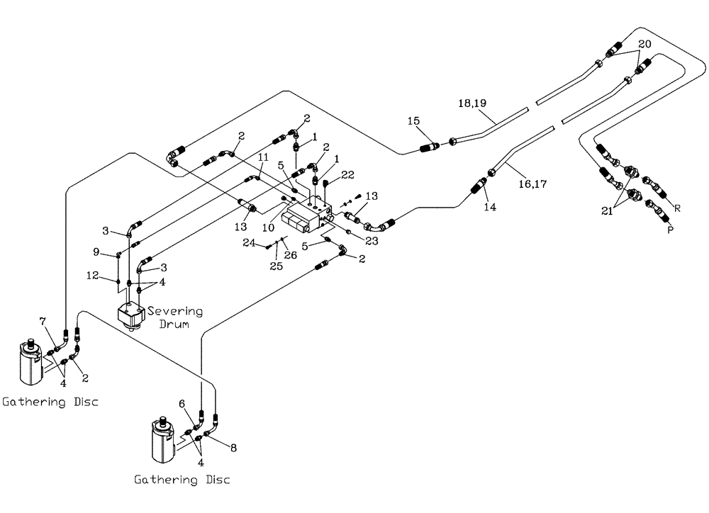
Запчасти Case IH 7700 (B09[01]) - HYDRAULIC CIRCUIT {Standard Topper} Hydraulic Components & Circuits

Схема запчастей Case IH 7700 - (B09[01]) - HYDRAULIC CIRCUIT {Standard Topper} Hydraulic Components & Circuits
8
16
4
5
3
2
15
10
11
2
13
7
9
5
4
12
22
21
6
3
20
1
2
17
23
26
13
25
2
18
19
14
1
24
2
4
FIT
1:1
100%

Артикул

Название

Примечание

Количество

1

00400230

HYD CONNECTOR

Nipple

2шт.

2

00407516

HYD CONNECTOR

Bend

5шт.

3

82755700

HOSE ASSY.

HOSE

2шт.

4

00400228

HYD CONNECTOR

Nipple

6шт.

5

00400226

HYD CONNECTOR

Nipple

2шт.

6

86303537

HOSE ASSY.

1шт.

7

87214349

HOSE,12.7mm ID x 1280mm L, SAE 100R17

HOSE

1шт.

8

87067400

HOSE ASSY.

1шт.

9

00402879

HYD CONNECTOR

Nipple

1шт.

10

00400223

HYD CONNECTOR

Nipple

1шт.

11

86302754

HOSE,6.35mm ID x 400mm L, SAE 100R17

HOSE

1шт.

12

00402235

HYD CONNECTOR

Nipple

1шт.

13

00409816

ADAPTER

Extended Nipple

2шт.

14

87254745

HOSE

1шт.

15

87256258

HOSE

HOSE

1шт.

16

87254264

TUBE,21.40 mm ID x 25.40 mm OD

LH Std. Length

1шт.

17

87254293

TUBE,25.40 mm OD

LH Ext. Length

1шт.

18

87254265

TUBE,25.40 mm DIA

RH Std. Length

1шт.

19

87254294

TUBE,25.40 mm OD

RH Ext. Length

1шт.

20

87256259

HOSE ASSY.

2шт.

21

00400067

HYD CONNECTOR

B/H Nipple

2шт.

22

00405498

SCREW ON COUPLING

Test Point

1шт.

23

00400106

HYD CONNECTOR

Plug

2шт.

24

FC110020

SCREW,M10 x 1.5 x 20mm

3шт.

25

WB100000

WASHER

3шт.

26

WA100000

WASHER

3шт.

Выбрано товаров: 26