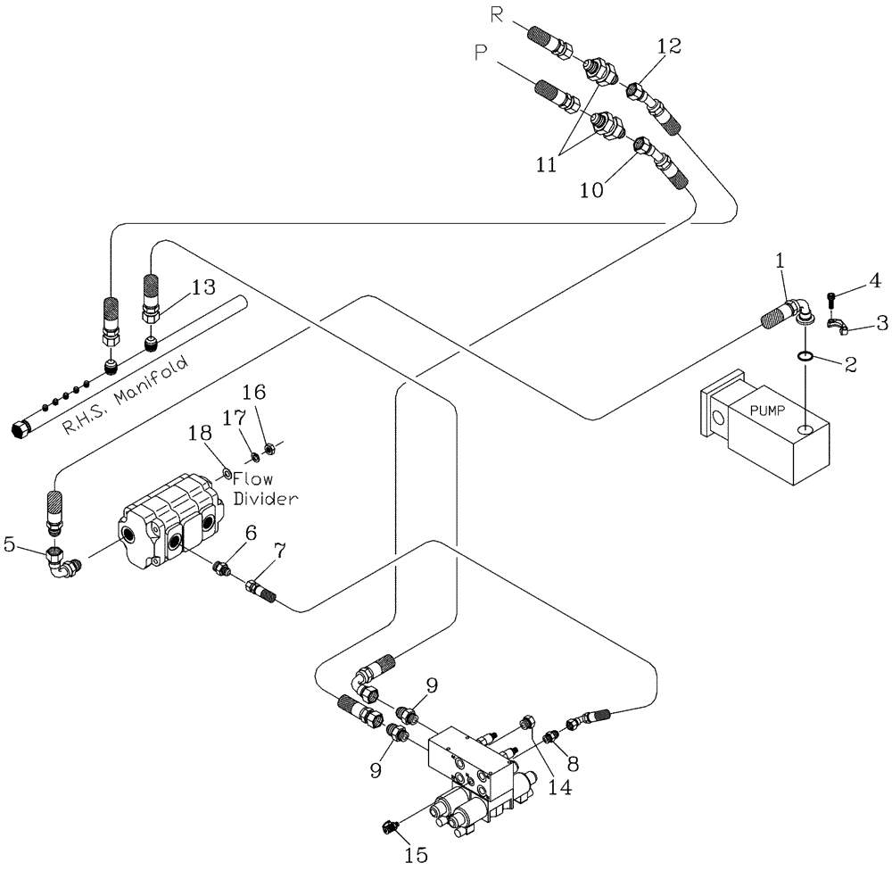
Запчасти Case IH 7700 (B09[06]) - HYDRAULIC CIRCUIT {Standard Topper with Sidetrim} {Low Horsepower} Hydraulic Components & Circuits

Схема запчастей Case IH 7700 - (B09[06]) - HYDRAULIC CIRCUIT {Standard Topper with Sidetrim} {Low Horsepower} Hydraulic Components & Circuits
9
4
9
2
3
1
10
6
16
12
7
8
11
13
5
15
14
18
17
FIT
1:1
100%

Артикул

Название

Примечание

Количество

1

87421570

HOSE,25.4mm ID x 750mm L, SAE 100R16

HOSE

1шт.

2

00100024

O-RING

1шт.

3

00400151

SPECIAL CLAMP

Pair

1шт.

4

00604461

SCREW

4шт.

5

00409889

HYD CONNECTOR

Bend

1шт.

6

00400234

HYD CONNECTOR

Nipple

2шт.

7

87247524

HOSE,12.7mm ID x 560mm L, SAE 100R17

1шт.

8

00400228

HYD CONNECTOR

Nipple

1шт.

9

00400234

HYD CONNECTOR

Nipple

2шт.

10

87423010

HOSE,25.4mm ID x 870mm L, SAE 100R17

HOSE

1шт.

11

00400067

HYD CONNECTOR

B/H Nipple

2шт.

12

87254533

HOSE,25.4mm ID x 1800mm L, SAE 100R17

HOSE

1шт.

13

87423009

HOSE,25.4mm ID x 2450mm L, SAE 100R16

HOSE

1шт.

14

00401873

HYD CONNECTOR

Plug

1шт.

15

00405498

SCREW ON COUPLING

Test Point

1шт.

16

00605798

NUT

4шт.

17

00605831

WASHER

4шт.

18

00605811

WASHER

4шт.

Выбрано товаров: 18