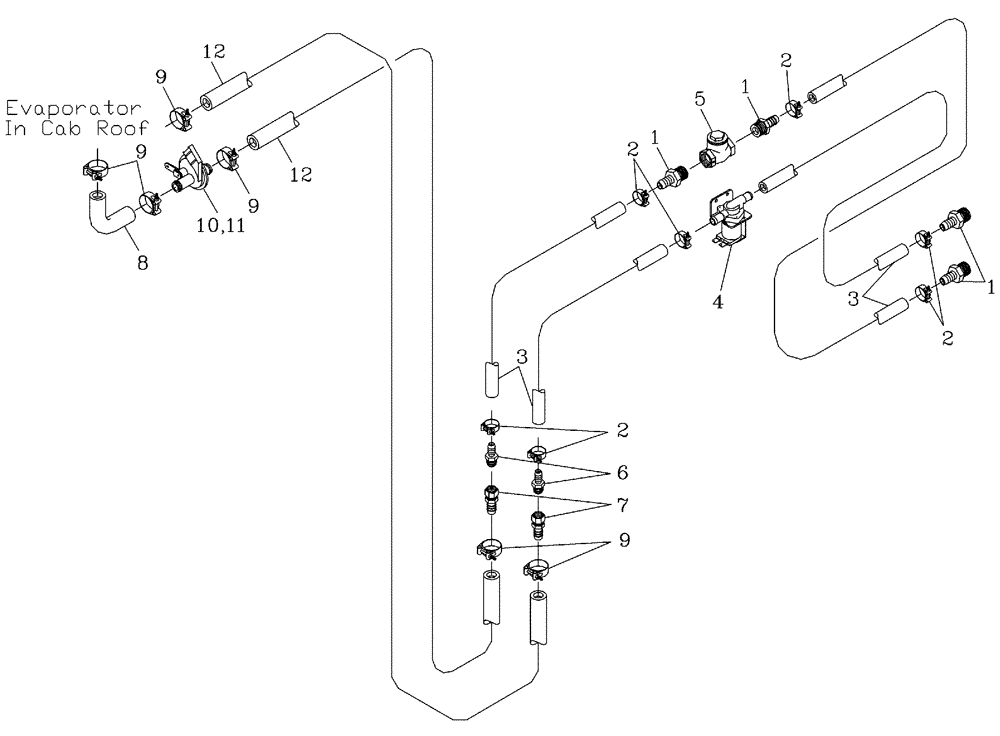
Запчасти Case IH 7700 (B13[03]) - HYDRAULIC CIRCUIT {Cabin Heater} Hydraulic Components & Circuits

Схема запчастей Case IH 7700 - (B13[03]) - HYDRAULIC CIRCUIT {Cabin Heater} Hydraulic Components & Circuits
12
9
2
1
2
10
7
9
3
3
9
1
5
6
1
9
11
12
8
4
2
2
FIT
1:1
100%

Артикул

Название

Примечание

Количество

1

00408569

END ASSY.

Hose

4шт.

2

00139959

HOSE CLAMP

8шт.

3

00180720

HOSE

1шт.

4

00180719

VALVE

Solenoid

1шт.

5

00180722

VALVE

Check

1шт.

6

00408571

END FITTING

HOSE END

2шт.

7

392384A1

END ASSY.

Hose

2шт.

8

181072A1

HOSE,15.50 mm ID

1шт.

9

430683A1

SPECIAL CLAMP

CLAMP

4шт.

10

1331087C1

HEATER VALVE

Control

1шт.

11

1954626C1

SPRING CLIP

1шт.

12

395589A1

HEATER HOSE,0.63" ID x 3.60"

2шт.

Выбрано товаров: 12