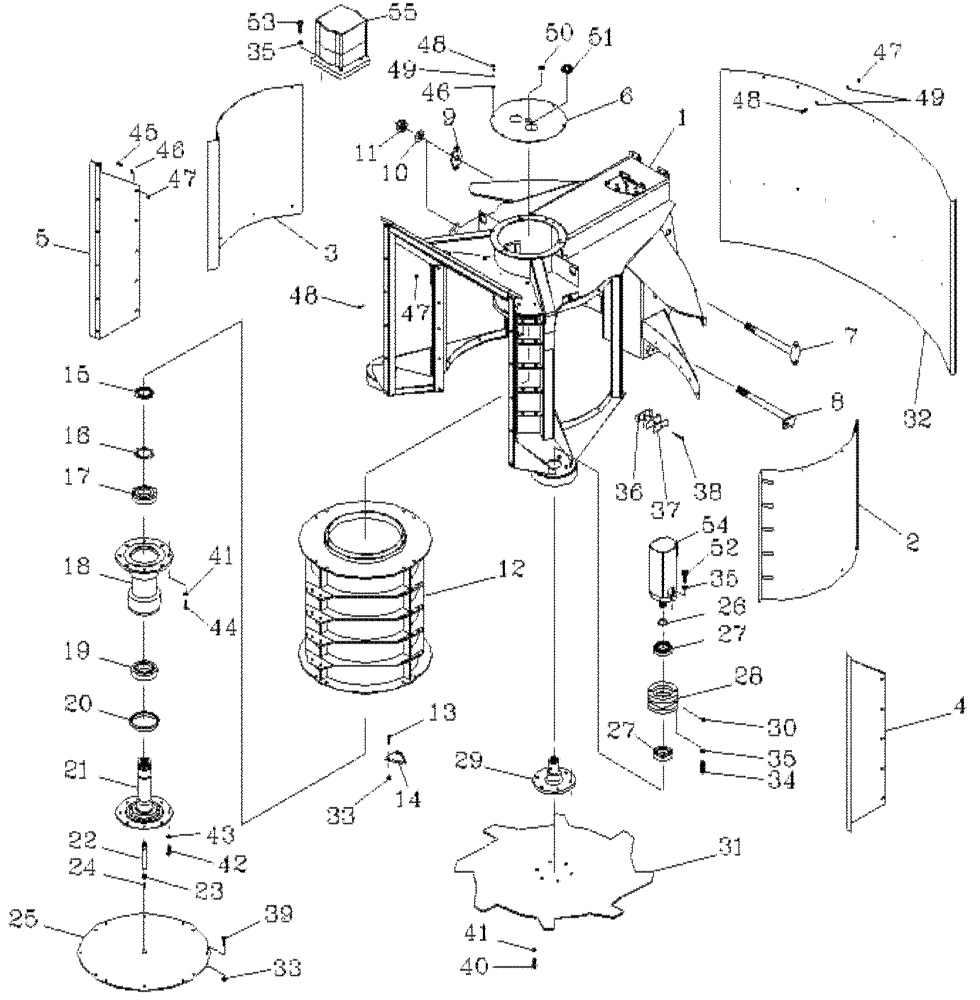
Запчасти Case IH 7700 (A02[03]) - SHREDDER TOPPER Mainframe & Functioning Components

Схема запчастей Case IH 7700 - (A02[03]) - SHREDDER TOPPER Mainframe & Functioning Components
42
41
26
29
55
53
35
48
14
5
12
3
32
49
17
54
27
36
31
9
24
10
46
6
39
28
33
43
44
16
35
25
7
1
38
46
41
48
34
52
11
47
40
45
18
23
33
49
37
50
47
21
48
27
30
2
13
22
15
20
19
51
35
47
8
4
FIT
1:1
100%

Артикул

Название

Примечание

Количество

1

87255695

FRAME ASSY

1шт.

2

87254380

WEAR STRIP

Plate [LH]

1шт.

3

87254381

WEAR STRIP

Plate [RH]

1шт.

4

87254383

WEAR STRIP

Plate [LH]

1шт.

5

87254384

WEAR STRIP

Plate [RH]

1шт.

6

87244962

LID

1шт.

7

87244967

PIN,25.4mm OD x 309mm L

1шт.

8

83048300

PIN,25.4mm OD x 313mm L

1шт.

9

87244969

HEAD

1шт.

10

00605814

WASHER

2шт.

11

00606020

LOCK NUT

2шт.

12

406108A1

DRUM

1шт.

13

FA108020

BOLT

68шт.

14

87255696

KNIFE

34шт.

15

00146590

NUT

1шт.

16

00146591

LOCKING DEVICE

1шт.

17

00146533

BEARING

1шт.

18

87244610

HOUSING ASSY.

1шт.

19

00146637

BEARING

1шт.

20

00100821

OIL SEAL

1шт.

21

87251066

SHAFT

1шт.

22

87251051

LUBE NIPPLE

Extension

1шт.

23

00400138

HYD CONNECTOR

1шт.

24

00152827

LUBE NIPPLE

Grease

1шт.

25

87250989

COVER

1шт.

26

CE040000

CIRCLIP

2шт.

27

00144080

BALL BEARING

4шт.

28

87244618

HOUSING

2шт.

29

370300A1

SHAFT

2шт.

30

00138722

LUBE NIPPLE

Grease

2шт.

31

369876A1

DISC

2шт.

32

87256074

WEAR STRIP

Wear Sheet

1шт.

32

377361A1

PANEL

Wear Sheet [Extended Boom]

1шт.

33

NC108000

NUT

72шт.

34

FA112025

BOLT

08шт.

35

WB120000

WASHER

16шт.

36

00405072

CLAMP

2шт.

37

00405228

COVER PLATE

2шт.

38

FA108045

BOLT

2шт.

39

FA108016

BOLT

4шт.

40

FA110020

BOLT

12шт.

41

WB100000

WASHER

20шт.

42

FA108025

BOLT

8шт.

43

WB080000

WASHER

8шт.

44

FA110025

BOLT

8шт.

45

FA106020

BOLT

10шт.

46

WA060000

WASHER

50шт.

47

NC106000

LOCK NUT

56шт.

48

FA106012

BOLT

56шт.

49

WB060000

SPRING WASHER

6шт.

50

00153805

GROMMET

1шт.

51

00180793

GROMMET

2шт.

52

FC112035

SCREW,M12 x 1.75 x 35mm

4шт.

53

FA112035

BOLT

4шт.

54

Hydraulic Motor

1шт.

refer to figure B03.05

1шт.

55

Hydraulic Motor

1шт.

refer to figure B03.06

1шт.

Выбрано товаров: 58