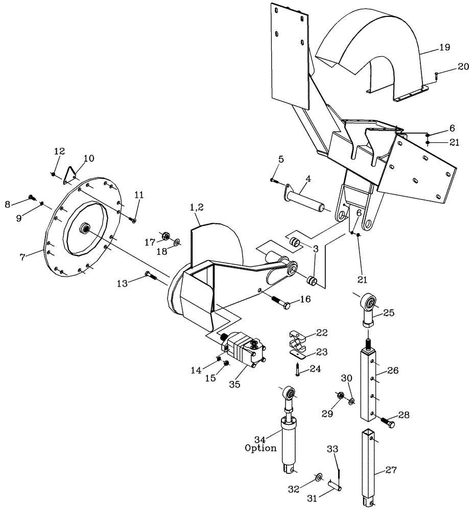
Запчасти Case IH 7700 (A03[04]) - SIDETRIM KNIVES Mainframe & Functioning Components

Схема запчастей Case IH 7700 - (A03[04]) - SIDETRIM KNIVES Mainframe & Functioning Components
34
22
28
3
20
13
6
30
21
16
12
32
24
26
1
9
10
27
25
5
35
33
6
14
4
18
17
31
21
2
19
23
7
11
29
8
15
FIT
1:1
100%

Артикул

Название

Примечание

Количество

1

376468A1

SUPPORTING ARM

Mount [Left Hand]

1шт.

2

376467A1

SUPPORTING ARM

Mount [Right Hand]

1шт.

3

87255100

BUSHING,38.2mm ID x 44.5mm OD x 38mm L

4шт.

4

376569A1

PIN,38.1mm OD x 198mm L

2шт.

5

FA108030

BOLT

2шт.

6

WB080000

WASHER

18шт.

7

87217492

HUB

2шт.

8

00601499

BOLT

2шт.

9

00605827

WASHER

2шт.

10

87213869

BLADE

16шт.

11

00605373

SCREW

32шт.

12

00605998

LOCK NUT

32шт.

13

FC112045

HEX SOC SCREW,M12 x 1.75 x 45mm

4шт.

14

WB120000

WASHER

4шт.

15

NA112000

NUT

4шт.

16

00606695

BOLT

2шт.

17

00606004

LOCK NUT

2шт.

18

00605812

WASHER

2шт.

19

87242527

GUARD

2шт.

20

FA108020

BOLT

16шт.

21

NA108000

NUT

18шт.

22

00405072

CLAMP

2шт.

23

00405228

COVER PLATE

2шт.

24

FA108045

BOLT

2шт.

25

00141656

CLEVIS COUPLING

Rod End

2шт.

26

87254863

TUBE

Strut [Top]

2шт.

27

87254867

TUBE

Strut [Bottom]

2шт.

28

FA116075

BOLT

2шт.

29

NC116000

NUT

2шт.

30

WA160000

WASHER

2шт.

31

87250196

PIN,20mm OD x 70mm L

2шт.

32

WA200000

WASHER

4шт.

33

SA040040

COTTER PIN

4шт.

34

Hydraulic Cylinder

1шт.

refer to figure B02.03

1шт.

35

Hydraulic Motor

1шт.

refer to figure B03.07

1шт.

Выбрано товаров: 37