Запчасти Case IH 7700 (A09[02]) - EPICYCLIC HUB {7000} *Series 40 35:1 Mainframe & Functioning Components

Схема запчастей Case IH 7700 - (A09[02]) - EPICYCLIC HUB {7000} *Series 40 35:1 Mainframe & Functioning Components
2
28
32
11
2
18
20
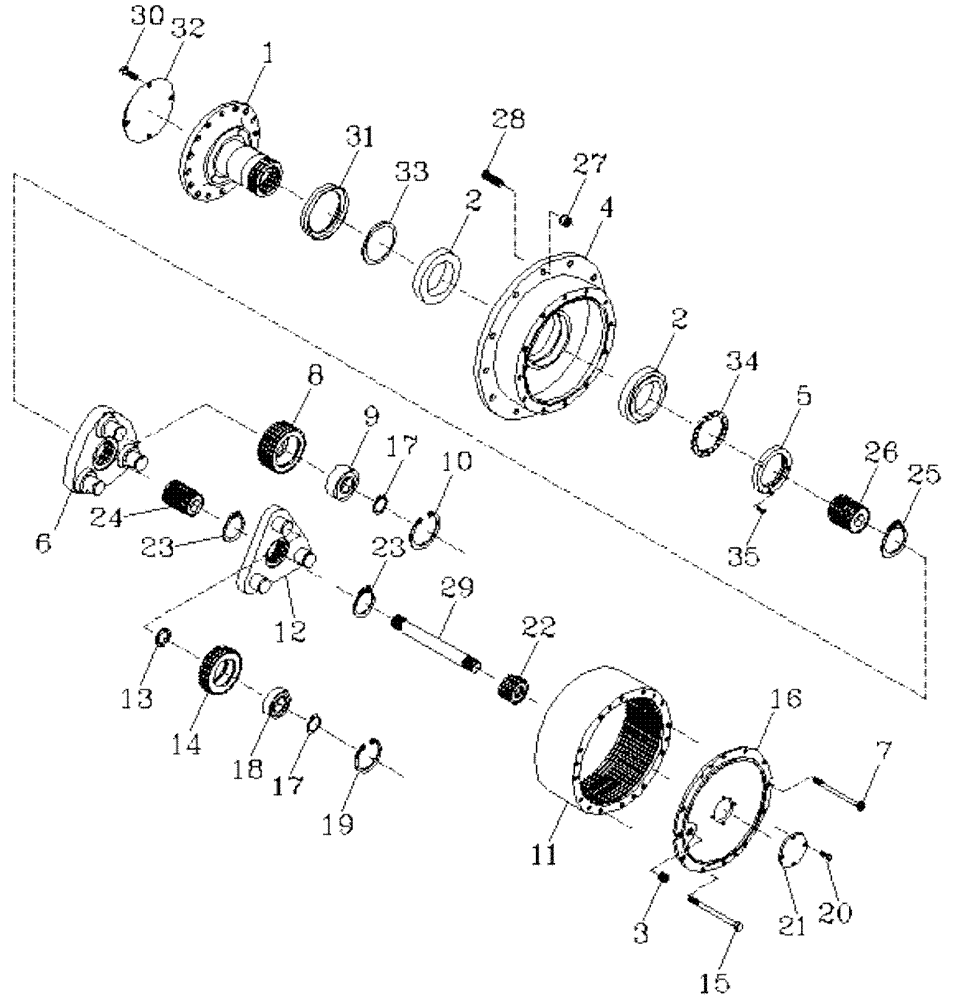
1
3
5
27
34
10
25
13
23
24
4
8
16
7
9
22
19
15
33
26
30
12
21
35
17
23
6
29
14
17
31
FIT
1:1
100%

Артикул

Название

Примечание

Количество

1

87238848

STUB AXLE/STEERING S

1шт.

2

00146555

BEARING

2шт.

3

00605620

PLUG

1шт.

4

87237056

HUB

1шт.

5

87255390

LOCK NUT

LOCK

1шт.

6

443733A1

PLANET CARRIER

SECONDARY

1шт.

7

FC112160

SCREW,M12 x 1.75 x 160mm

2шт.

8

87215160

PLANETARY GEAR,38T

GEAR CARRIER planet, secondary

3шт.

9

00140515

BEARING

3шт.

10

CI090000

CIRCLIP

3шт.

11

87237088

RING GEAR

1шт.

12

443656A1

HUB CARRIER

PRIMARY

1шт.

13

87215157

SPACER

3шт.

14

87215720

GEAR

GEAR planet, primary

3шт.

15

FA112170

BOLT

10шт.

16

87223910

FLANGE COVER CAP

1шт.

17

CE040000

CIRCLIP

6шт.

18

00140516

BEARING

3шт.

19

CI080000

CIRCLIP

3шт.

20

FA108016

BOLT

4шт.

21

87215722

THRUST PLATE

PAD

1шт.

22

443659A1

DRIVING GEAR

PINION

1шт.

23

CE063000

CIRCLIP

1шт.

24

443658A1

DRIVING GEAR

COUPLING

1шт.

25

CE075000

CIRCLIP

1шт.

26

87238849

SPLINED COUPLING

1шт.

27

00607915

NUT

wheel

12шт.

28

00608020

STUD

12шт.

29

87215723

CLUTCH INPUT SHAFT

input

1шт.

30

FA112020

BOLT

4шт.

31

00100798

OIL SEAL

1шт.

32

86314484

COVER

packing

1шт.

33

87227869

SPACER

1шт.

34

87245816

LOCKING PLATE

locking

1шт.

35

FC106012

SCREW,M6 x 12mm

1шт.

36

443655A1

GEARBOX

HUB ASSEMBLY

1шт.

Выбрано товаров: 36