Запчасти Case IH 7700 (A09[08]) - HANDBRAKE Mainframe & Functioning Components

Схема запчастей Case IH 7700 - (A09[08]) - HANDBRAKE Mainframe & Functioning Components
9
13
7
1
8
11
4
10
5
6
3
2
12
FIT
1:1
100%

Артикул

Название

Примечание

Количество

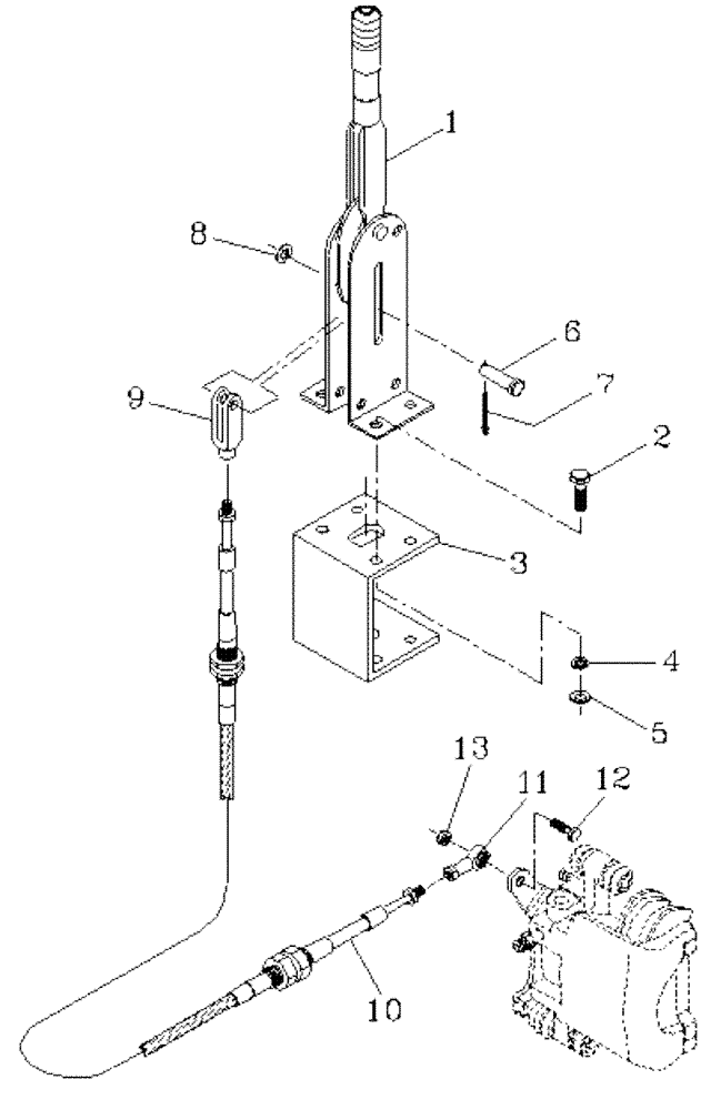
1

00138702

HAND BRAKE

1шт.

2

FA108030

BOLT

BOLT

4шт.

3

368186A1

MOUNTING PARTS

MOUNT

1шт.

4

WB080000

WASHER

4шт.

5

WA080000

WASHER

4шт.

6

00607180

PIN

clevis

1шт.

7

SA025020

COTTER PIN

1шт.

8

00605807

WASHER

1шт.

9

87231801

CLEVIS

YOKE

1шт.

10

00181014

CABLE

1шт.

11

00141661

CLEVIS COUPLING

END rod

1шт.

12

00601502

BOLT

1шт.

13

00605997

LOCK NUT

1шт.

Выбрано товаров: 13