Запчасти Case IH 7700 (C02[08]) - REMOTE OIL COOLER SCREEN Engine & Engine Attachments

Схема запчастей Case IH 7700 - (C02[08]) - REMOTE OIL COOLER SCREEN Engine & Engine Attachments
9
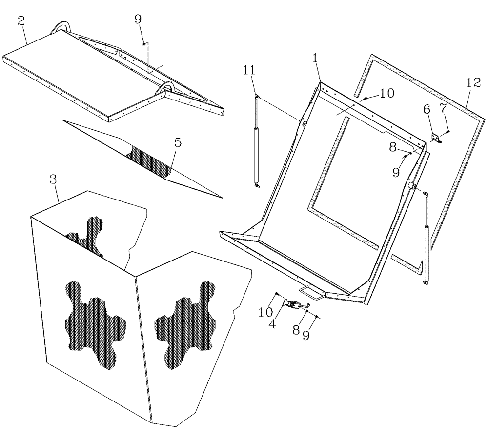
1
3
4
9
9
8
11
10
10
2
6
8
5
7
12
FIT
1:1
100%

Артикул

Название

Примечание

Количество

1

87404159

BASE

BASE

1шт.

2

87404154

COVER

TOP

1шт.

3

87248233

SCREEN

Mesh

1шт.

4

00608187

LATCH ASSY.

1шт.

5

87404146

SCREEN

SCREEN [Rear]

1шт.

6

377362A1

HINGE

2шт.

7

FD106020

SCREW,Flat Hd, Csk, M6 x 20mm

SCREW

4шт.

8

WA060000

WASHER

6шт.

9

NC106000

LOCK NUT

11шт.

10

FA106016

BOLT

7шт.

11

00181851

GAS STRUT

2шт.

12

00180492

SEAL

Rubber

1шт.

13

87404156

SCREEN

SCREEN ASSEMBLY

1шт.

Выбрано товаров: 0