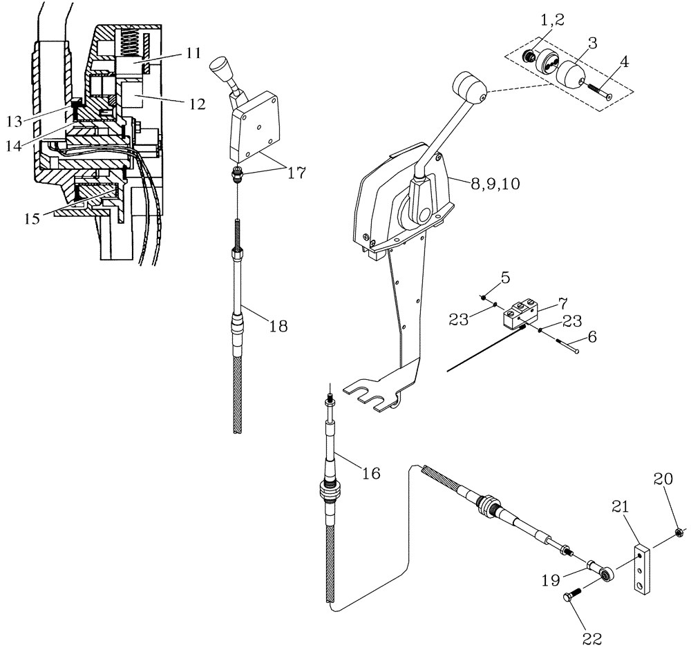
Запчасти Case IH 7700 (A11[08]) - PEDESTAL CONTROLS {7000} Mainframe & Functioning Components

Схема запчастей Case IH 7700 - (A11[08]) - PEDESTAL CONTROLS {7000} Mainframe & Functioning Components
22
10
14
12
18
13
9
16
8
15
2
6
17
5
1
20
23
4
21
11
23
3
7
19
FIT
1:1
100%

Артикул

Название

Примечание

Количество

1

00198056

SWITCH

black

1шт.

2

00198057

SWITCH

red

1шт.

3

00182009

KNOB

1шт.

4

00182010

SCREW

1шт.

5

NC103000

NUT

NUT

2шт.

6

00608220

SCREW

2шт.

7

00182130

SWITCH

1шт.

8

00182128

VALVE, CONTROL

Includes: items 9 - 10

1шт.

9

87255643

BRACKET

MOUNT outer

1шт.

Part of Valve Control P/N 00182128

1шт.

10

87255642

RUBBER MOUNTING

traction cable

1шт.

Part of Valve Control P/N 00182128

1шт.

11

00182000

DETENT

2шт.

12

00182004

GUARD

PLATE throttle

2шт.

13

00182005

BUSHING

2шт.

14

00182003

BUSHING

2шт.

15

00182006

BRAKE

PLATE

4шт.

16

00181993

CABLE

2шт.

17

00137244

LEVER ASSY.

CONTROL

1шт.

18

00181789

CABLE

1шт.

19

00141661

CLEVIS COUPLING

END rod

2шт.

20

00605799

NUT

2шт.

21

87253810

CONTROL LEVER

2шт.

22

00601570

BOLT

2шт.

23

00608190

WASHER

WASHER

4шт.

Выбрано товаров: 25